授权公布号:CN116159435B
一种免疫血清杂质渗透过滤装置及其渗透过滤方法
有效
申请
2023-04-24
申请公布
2023-05-26
授权
2023-06-20
预估到期
2043-04-24
| 申请号 | CN202310445074.5 |
| 申请日 | 2023-04-24 |
| 申请公布号 | CN116159435A |
| 申请公布日 | 2023-05-26 |
| 授权公布号 | CN116159435B |
| 授权公告日 | 2023-06-20 |
| 分类号 | B01D61/00;B01D36/00 |
| 分类 | 一般的物理或化学的方法或装置; |
| 申请人名称 | 山东和康源生物育种股份有限公司 |
| 申请人地址 | 山东省济南市高新区港兴三路北段济南药谷研发平台1号楼B座2101-2122室 |
专利法律状态
2023-06-20
授权
状态信息
授权
2023-06-13
实质审查的生效
状态信息
实质审查的生效;IPC(主分类):B01D61/00;申请日:20230424
2023-05-26
公布
状态信息
公布
摘要
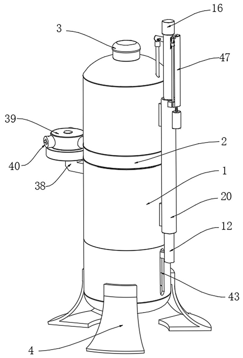
本发明涉及血清处理技术领域,具体涉及一种免疫血清杂质渗透过滤装置及其渗透过滤方法,包括罐体,所述罐体的顶部固定安装有进液口,所述罐体的底部固定连接有底座,所述罐体的中部开设有安装槽,所述罐体底部的外壁安装有排液阀。本发明通过设置的升降结构,在滑杆带动初滤结构、活塞向下运动的同时,还使得初滤结构产生振动,使得初滤结构底部的阻流结构在振动下搅动血浆,使得血浆与抗凝剂混合均匀,避免血浆凝固,同时阻流结构也会将血浆推向滤膜过滤结构的表面,带来的冲击能够一定程度上减少滤膜表面的堵塞,从而提高滤膜过滤结构过滤血清的效率。


