授权公布号:CN211587479U
一种淮南黑猪饲料加工用分级筛选机
有效
申请
2020-02-12
申请公布
1970-01-01
授权
2020-09-29
预估到期
2030-02-12
| 申请号 | CN202020162960.9 |
| 申请日 | 2020-02-12 |
| 授权公布号 | CN211587479U |
| 授权公告日 | 2020-09-29 |
| 分类号 | B07B1/28 |
| 分类 | 将固体从固体中分离;分选; |
| 申请人名称 | 河南兴锐农牧科技有限公司 |
| 申请人地址 | 河南省信阳市新县城关解放路59号 |
专利法律状态
2020-09-29
授权
状态信息
授权
摘要
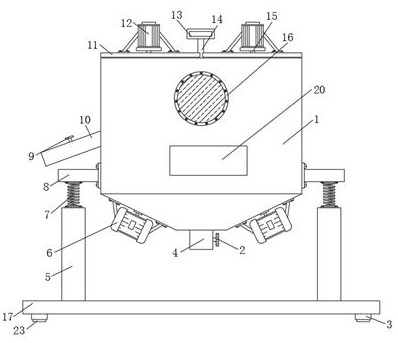
本实用新型属于饲料加工技术领域,且公开了一种淮南黑猪饲料加工用分级筛选机,包括底板,所述底板的顶部对称安装有两个支撑杆,两个所述支撑杆的顶部均通过螺栓固定连接有弹簧,两个所述弹簧的顶部均通过螺栓固定连接有侧板,两个所述侧板之间通过螺栓固定连接有桶体,所述桶体一侧安装有控制器,且桶体相邻于控制器的一侧安装有第二管体,本实用新型通过转动转杆,使转杆带动调节板转动,让第二分选孔移动,让第二分选孔和第一分选孔重叠,让第二分选孔和第一分选孔调节至使用者需要的孔径,让装置可以依据使用者的需求调节装置分选孔的规格,可以对规格不同的饲料进行分选,提高装置的使用范围。


