授权公布号:CN211558650U
一种淮南黑猪肉加工厂猪肉清洗装置
有效
申请
2020-02-12
申请公布
1970-01-01
授权
2020-09-25
预估到期
2030-02-12
| 申请号 | CN202020162987.8 |
| 申请日 | 2020-02-12 |
| 授权公布号 | CN211558650U |
| 授权公告日 | 2020-09-25 |
| 分类号 | A22C17/08 |
| 分类 | 屠宰;肉品处理;家禽或鱼的加工; |
| 申请人名称 | 河南兴锐农牧科技有限公司 |
| 申请人地址 | 河南省信阳市新县城关解放路59号 |
专利法律状态
2020-09-25
授权
状态信息
授权
摘要
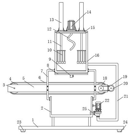
本实用新型属于猪肉清洗技术领域,且公开了一种淮南黑猪肉加工厂猪肉清洗装置,包括蓄水盒,所述蓄水盒的底部安装有基板,且蓄水盒的一侧通过螺栓固定连接有水泵,所述水泵的底部安装有出水管,且水泵靠近蓄水盒的一侧安装有进水管,所述进水管相背于水泵一端与蓄水盒固定连接,所述蓄水盒两侧均通过螺栓对称固定连接有两个连接杆,两个所述连接杆顶部之间通过螺栓固定连接有清洗桶,本实用新型通过电动推杆带动移动杆移动,通过移动杆带动挤压杆移动,通过挤压杆对猪肉进行挤压,让猪肉进行搅拌清洗时,可以让猪肉的血水充分挤出,从而让装置便于对猪肉进行充分清洗,大大提高了猪肉的清洗效率。


