授权公布号:CN213861250U
一种胶印机滚筒
有效
申请
2020-11-20
申请公布
1970-01-01
授权
2021-08-03
预估到期
2030-11-20
| 申请号 | CN202022700740.X |
| 申请日 | 2020-11-20 |
| 授权公布号 | CN213861250U |
| 授权公告日 | 2021-08-03 |
| 分类号 | B41F13/193 |
| 分类 | 印刷;排版机;打字机;模印机〔4〕; |
| 申请人名称 | 四川北彩印务有限公司 |
| 申请人地址 | 四川省资阳市安岳县石桥铺镇(资阳经济技术开发区安岳工业园) |
专利法律状态
2021-08-03
授权
状态信息
授权
摘要
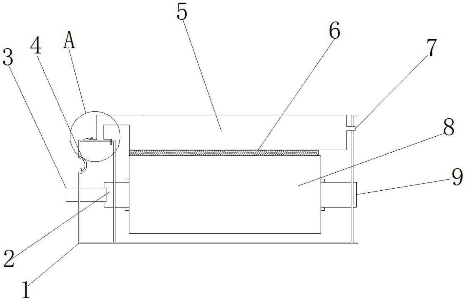
本实用新型公开了一种胶印机滚筒。本实用新型中,包括滚筒支架,所述滚筒支架的左侧中间活动连接有油墨盒,所述油墨盒的右侧螺纹连接有油墨入口,所述滚筒支架(的左侧顶部固定安装有推拉把手,所述滚筒支架的左侧顶部位于推拉把手的右侧活动连接有清灰板,所述清灰板的下方活动连接有清灰软刷,所述清灰板的右侧焊接有固定齿,所述油墨入口的右侧活动连接有滚筒轴,所述滚筒轴的外壁螺纹连接有滚筒,所述滚筒的外壁固定安装有一层过滤均匀网,所述清灰板的下方位于清灰软刷的后方固定连接有挡灰板,所述滚筒的左侧固定安装有液压器,所述油墨入口的右侧活动连接有油墨过滤网,所述液压器的右侧活动连接有液压臂。


