授权公布号:CN213220883U
一种具有座椅功能的木制玩具
有效
申请
2020-09-17
申请公布
1970-01-01
授权
2021-05-18
预估到期
2030-09-17
| 申请号 | CN202022039069.9 |
| 申请日 | 2020-09-17 |
| 授权公布号 | CN213220883U |
| 授权公告日 | 2021-05-18 |
| 分类号 | A63G13/06 |
| 分类 | 运动;游戏;娱乐活动; |
| 申请人名称 | 浙江丹妮婴童用品有限公司 |
| 申请人地址 | 浙江省丽水市云和县白龙山街道杨柳河路158号 |
专利法律状态
2021-10-12
专利权质押合同登记的生效、变更及注销
状态信息
专利权质押合同登记的生效;IPC(主分类):A63G13/06;登记号:Y2021330001735;登记生效日:20210922;出质人:浙江丹妮婴童用品有限公司;质权人:中国邮政储蓄银行股份有限公司云和县支行;实用新型名称:一种具有座椅功能的木制玩具;申请日:20200917;授权公告日:20210518
2021-05-18
授权
状态信息
授权
摘要
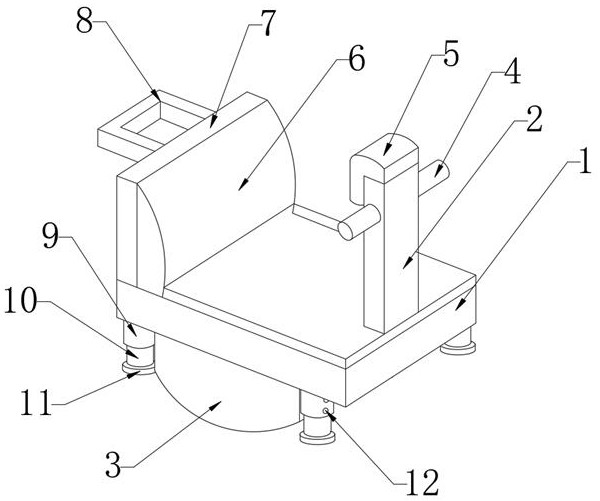
本实用新型涉及儿童玩具技术领域,公开了一种具有座椅功能的木制玩具,包括底座,所述底座上方的一端设置有支撑板,所述底座上方的另一端设置有后挡板,所述后挡板上方的一侧设置有扶手,所述支撑板上方的前后侧均设置有手持杆,所述底座的底部设置有半圆块,所述底座的底部的四角均设置有杆筒,所述杆筒的下方设置有伸缩杆,所述伸缩杆的下方设置有底板。通过底座和支撑板之间设置螺纹槽,当需要使用玩具的座椅功能时,可将支撑板旋转取下,通过杆筒内设置的伸缩杆、凸块、第一弹簧和第二弹簧,将凸块通过第二弹簧按压进杆筒内,从而向下延长伸缩杆,利用限位孔进行固定,从而可以将底座支撑起,形成座椅,提高了玩具的实用性和功能性。


