授权公布号:CN110056038B
用于高层建筑的给排水综合结构的操作方法
有效
申请
2019-04-16
申请公布
2019-07-26
授权
2023-09-05
预估到期
2039-04-16
| 申请号 | CN201910302208.1 |
| 申请日 | 2019-04-16 |
| 申请公布号 | CN110056038A |
| 申请公布日 | 2019-07-26 |
| 授权公布号 | CN110056038B |
| 授权公告日 | 2023-09-05 |
| 分类号 | E03B3/02;E03B11/02;E04B7/02;E04B7/18;E04D13/04;F04B49/02;F04D13/04 |
| 分类 | 给水;排水; |
| 申请人名称 | 潮峰钢构集团有限公司 |
| 申请人地址 | 浙江省杭州市萧山区经济技术开发区北塘路38号 |
专利法律状态
2023-09-05
授权
状态信息
授权
2019-08-20
实质审查的生效
状态信息
实质审查的生效;IPC(主分类):E03B3/02;申请日:20190416
2019-07-26
公布
状态信息
公布
摘要
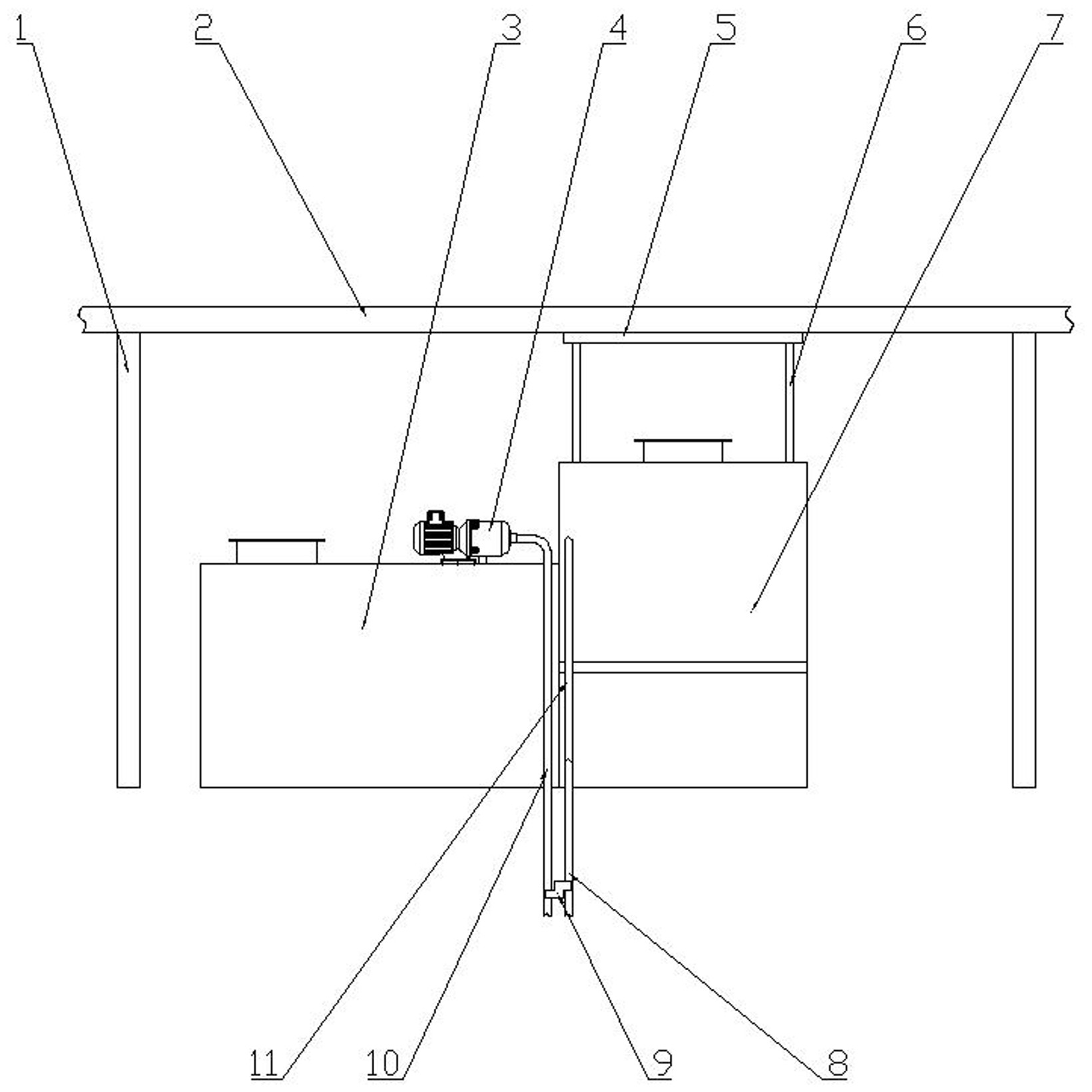
本发明涉及一种用于高层建筑的给排水综合结构的操作方法,所属给排水综合结构技术领域,包括饮用水箱,饮用水箱侧边设有雨水回用箱,雨水回用箱上端设有与雨水回用箱相管路连通的雨水收集顶棚,雨水收集顶棚下端设有雨水收集支架,雨水收集顶棚与雨水回用箱间设有若干落水管,饮用水箱上设有与饮用水箱相管路连通的抽水增压泵,抽水增压泵上设有送水管,送水管侧边设有与雨水回用箱下部相连通的排水管,排水管与送水管间设有若干给排水动能组件。具有结构紧凑、功能齐全、节能减排、雨水回用和使用周期长的优点。改善了高层建筑的给排水稳定性,解决了暴雨溢水的问题。避免楼顶积水影响顶楼租户的墙体结构强度。


