授权公布号:CN206130010U
一种带调节板的空压机皮带张紧装置
有效
申请
2016-10-28
申请公布
1970-01-01
授权
2017-04-26
预估到期
2026-10-28
| 申请号 | CN201621184670.4 |
| 申请日 | 2016-10-28 |
| 授权公布号 | CN206130010U |
| 授权公告日 | 2017-04-26 |
| 分类号 | F16H7/08 |
| 分类 | 工程元件或部件;为产生和保持机器或设备的有效运行的一般措施;一般绝热; |
| 申请人名称 | 南昌鑫源消防设备工程有限公司 |
| 申请人地址 | 江西省南昌市青山湖区昌东工业区三期C-27地块3#厂房 |
专利法律状态
2018-08-21
专利申请权、专利权的转移
状态信息
专利权的转移;IPC(主分类):F16H7/08;专利号:ZL2016211846704;登记生效日:20180801;变更事项:专利权人;变更前权利人:衢州福创工业设计有限公司;变更后权利人:南昌鑫源消防设备工程有限公司;变更事项:地址;变更前权利人:324000 浙江省衢州市柯城区凯旋南路6号1幢A座202室;变更后权利人:330012 江西省南昌市青山湖区昌东工业区三期C-27地块3#厂房
2017-04-26
实用新型专利权授予
状态信息
授权
摘要
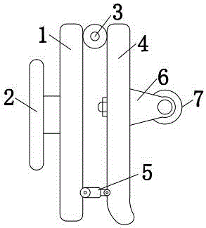
本实用新型公开了皮带张紧装置技术领域的一种带调节板的空压机皮带张紧装置,包括立板,所述立板的左侧壁连接有支架,所述立板右侧壁的顶部通过螺钉连接有铰链,所述立板的右侧通过铰链连接有调节板,所述立板右侧壁的底部通过销轴连接有调节装置,所述调节装置的右端通过销轴与调节板左侧壁的底部连接,所述调节板的右侧壁设置有滚轮架,所述滚轮架的右端通过销轴连接有张紧轮,通过调节装置与立板和调节板的相互配合使得调节板可以以铰链为圆心转动调节角度,通过滚轮架与调节板上的滑轨的相互作用,滚轮架可以沿着滑轨上下移动,这种大范围的调节可以使得该种皮带张紧装置适用于更多的使用环境。


