授权公布号:CN219840552U
一种新型钢制防火门
有效
申请
2023-05-18
申请公布
1970-01-01
授权
2023-10-17
预估到期
2033-05-18
| 申请号 | CN202321210651.4 |
| 申请日 | 2023-05-18 |
| 授权公布号 | CN219840552U |
| 授权公告日 | 2023-10-17 |
| 分类号 | E06B5/16;E06B3/36;E06B7/30;E05B1/00 |
| 分类 | 一般门、窗、百叶窗或卷辊遮帘;梯子; |
| 申请人名称 | 南昌鑫源消防设备工程有限公司 |
| 申请人地址 | 江西省南昌市青山湖区昌东工业区三期C-27地块3#厂房 |
专利法律状态
2023-10-17
授权
状态信息
授权
摘要
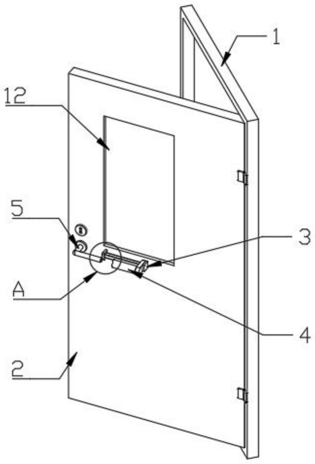
本实用新型公开了一种新型钢制防火门,属于防火门领域,包括门框结构,门框结构上安装有防火门主体,防火门主体上安装有门把手结构,防火门主体上安装有安装连接结构,安装连接结构上滑动安装有降温隔热结构,降温隔热结构同时安装在门把手结构上,降温隔热结构由安装基板、珍珠岩板保护套管以及空心降温管组成,通过设置降温隔热结构,在使用时,可将降温隔热结构安装在门把手结构上,当火灾发生时,降温隔热结构上的珍珠岩板保护套管会对外部热量进行阻挡,而空心降温管会对门把手结构进行降温,从而可以降低门把手结构的温度,进而最终可以降低逃生人员通过门把手结构打开防火门主体时被门把手结构烫伤的几率。


