授权公布号:CN207128435U
别针书签以及别针书签页
有效
申请
2017-07-07
申请公布
1970-01-01
授权
2018-03-23
预估到期
2027-07-07
| 申请号 | CN201720825841.5 |
| 申请日 | 2017-07-07 |
| 授权公布号 | CN207128435U |
| 授权公告日 | 2018-03-23 |
| 分类号 | B42D9/00 |
| 分类 | 装订;图册;文件夹;特种印刷品; |
| 申请人名称 | 北京单向街文化有限公司 |
| 申请人地址 | 北京市朝阳区朝阳北路101号楼6层(05)601内5F-42号 |
专利法律状态
2019-03-29
专利权质押合同登记的生效、变更及注销
状态信息
专利权质押合同登记的生效IPC(主分类):B42D 9/00登记号:2019990000172登记生效日:20190304出质人:北京单向街文化有限公司质权人:北京中关村科技融资担保有限公司实用新型名称:别针书签以及别针书签页授权公告日:20180323
2018-03-23
授权
状态信息
授权
摘要
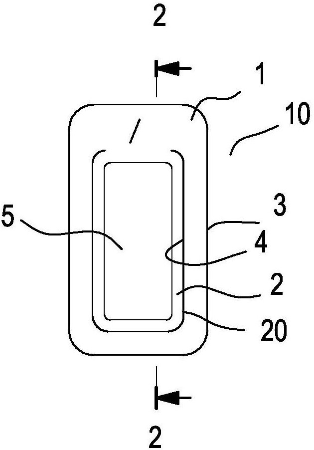
本实用新型公开了一种别针书签,其包括书签框、书签夹,所述书签框为为长方形结构,其包括一外框缘和一内框缘,所述书签夹设于书签的中部,所述书签夹的上边缘与所述内框缘的上侧相连接,其余周缘与内框缘形成一间隙,使书签夹可以局部掀开,该书签夹上设有凹格。本实用新型的书签可以牢牢卡在书页间,既可以书写关键词,也可以记录阅读日期,克服了传统书签只支持线性阅读、容易脱落的问题,使读者可以前后翻阅、跳跃性读书、随手笔记,从而发现阅读形式的更多可能性。


