授权公布号:CN209209508U
可变空间月历包装盒
有效
申请
2018-09-29
申请公布
1970-01-01
授权
2019-08-06
预估到期
2028-09-29
| 申请号 | CN201821611376.6 |
| 申请日 | 2018-09-29 |
| 授权公布号 | CN209209508U |
| 授权公告日 | 2019-08-06 |
| 分类号 | B65D81/36 |
| 分类 | 输送;包装;贮存;搬运薄的或细丝状材料; |
| 申请人名称 | 北京单向街文化有限公司 |
| 申请人地址 | 北京市朝阳区朝阳北路101号楼6层(05)601内5F-42号 |
专利法律状态
2019-08-06
授权
状态信息
授权
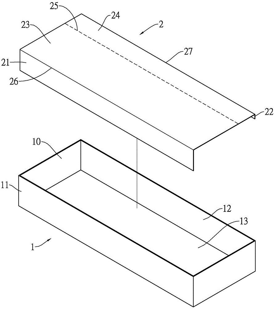
摘要
一种可变空间月历包装盒,包括一盒体和一可折叠盒盖。盒体为上部开口的长方形容器,用于放置月历或其他物品。可折叠盒盖可盖合在所述盒体之上,包括前下缘、前盖板、后盖板和后下缘,其中,前下缘和前盖板之间、后下缘和后盖板之间设有折痕,后下缘可粘贴在盒体的后侧板上端部,前盖板和后盖板之间亦设有一折痕。该包装盒可以在盒盖折叠后放置月历,也可在盒盖展开时用于收纳物品,一物多用,减少不必要的浪费。


