授权公布号:CN215576498U
一种具有辅助支撑的防抖显卡
有效
申请
2021-09-23
申请公布
1970-01-01
授权
2022-01-18
预估到期
2031-09-23
| 申请号 | CN202122295687.4 |
| 申请日 | 2021-09-23 |
| 授权公布号 | CN215576498U |
| 授权公告日 | 2022-01-18 |
| 分类号 | G06F1/18 |
| 分类 | 计算;推算;计数; |
| 申请人名称 | 深圳市鹏雄科技有限公司 |
| 申请人地址 | 广东省深圳市西丽街道松坪山社区朗山路13号清华紫光科技园6层C605 |
专利法律状态
2022-01-18
授权
状态信息
授权
摘要
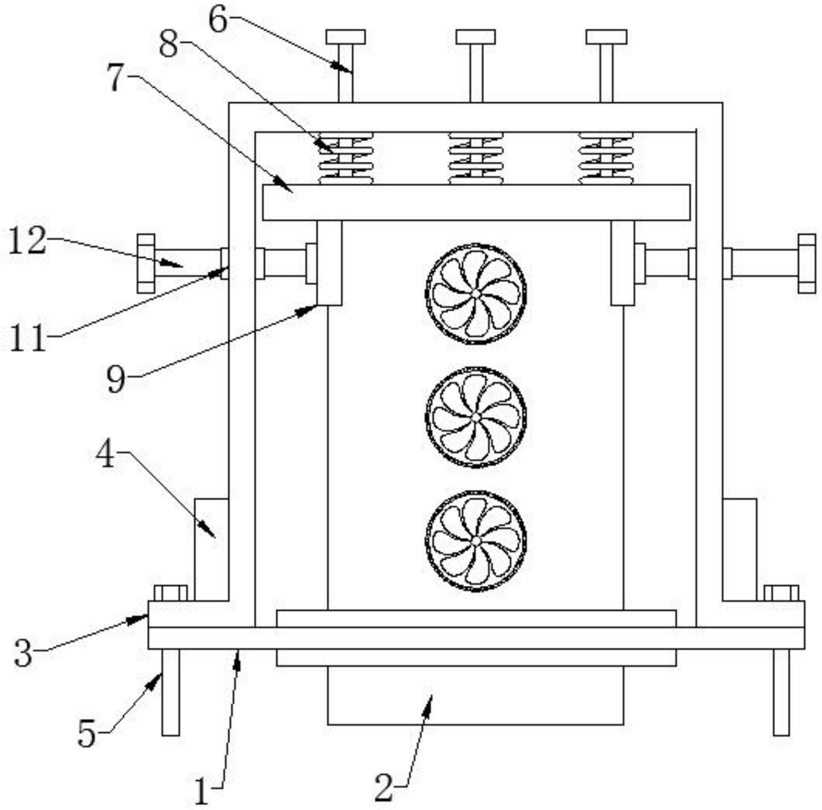
本实用新型公开了一种具有辅助支撑的防抖显卡,涉及显卡技术领域包括安装板,所述安装板上安装有显卡本体,所述安装板的顶部通过锁紧螺栓安装有防护架,所述防护架和安装板之间安装有缓冲机构,所述防护架为U型架,所述防护架的顶部安装有活动杆,所述活动杆为T型杆。相较于现有技术,本实用新型通过活动杆、压板、弹簧、卡块、螺纹块和螺纹杆对显卡进行固定,方便不同品牌不同规格的显卡配合使用,使用灵活性非常高,同时采用缓冲机构作为防护架和安装板之间的防护机构,弹簧作为压板和防护架之间的防护机构,在锁紧螺栓完成固定后能有效对显卡本体进行防护,降低显卡本体时由于风扇产生的震动,从而减少机箱的异响。


