授权公布号:CN206204556U
一种新型纤维棉分料装置
有效
申请
2016-08-31
申请公布
1970-01-01
授权
2017-05-31
预估到期
2026-08-31
| 申请号 | CN201621002076.9 |
| 申请日 | 2016-08-31 |
| 授权公布号 | CN206204556U |
| 授权公告日 | 2017-05-31 |
| 分类号 | D04H1/02 |
| 分类 | 编织;花边制作;针织;饰带;非织造布; |
| 申请人名称 | 广东美梦思床具有限公司 |
| 申请人地址 | 广东省佛山市顺德区龙江镇旺岗村委会三联工业园联新南路7号之一 |
专利法律状态
2017-05-31
授权
状态信息
授权
摘要
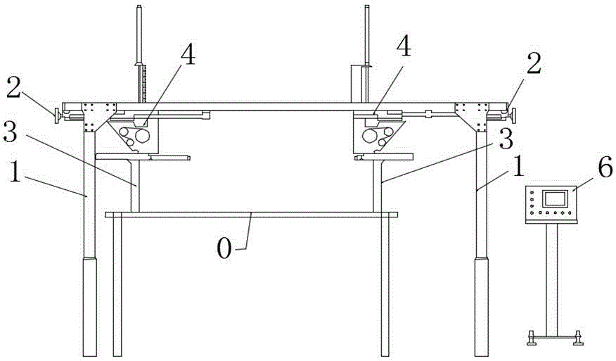
本实用新型公开了一种新型纤维棉分料装置,包括机架、宽度调整机构、拨料机构、上下前后移动机构、推料机构和控制系统,所述宽度调整机构包括转轮、螺杆和基座,拨料机构包括拨料基座、固定耙、横向移动耙和移动耙控制装置,上下前后移动机构包括上下移动机构和前后移动机构,拨料机构的外侧设置有回收装置。该装置可以将多余的纤维棉进行回收再利用,减少定型后再分切的材料浪费;该装置采用PLC控制柜进行控制,自动化程度高,该装置采用固定耙和横向移动耙将超宽纤维棉分开,不会损坏纤维棉,达到最大的利用率,避免传统工艺中刀具或砂轮对纤维棉的破坏;该装置上设置有吸收噪音装置,降低了工作噪音,美化了工作环境,有利于人们的持续工作。


