授权公布号:CN204468485U
一种座椅的快拆机构
失效
申请
2015-03-01
申请公布
1970-01-01
授权
2015-07-15
预估到期
2025-03-01
| 申请号 | CN201520119563.2 |
| 申请日 | 2015-03-01 |
| 授权公布号 | CN204468485U |
| 授权公告日 | 2015-07-15 |
| 分类号 | A61G5/10;A61G5/00 |
| 分类 | 医学或兽医学;卫生学; |
| 申请人名称 | 佛山市东方医疗设备厂有限公司 |
| 申请人地址 | 广东省佛山市南海区狮山工业园A区兴福路5号 |
专利法律状态
2015-07-15
授权
状态信息
授权
摘要
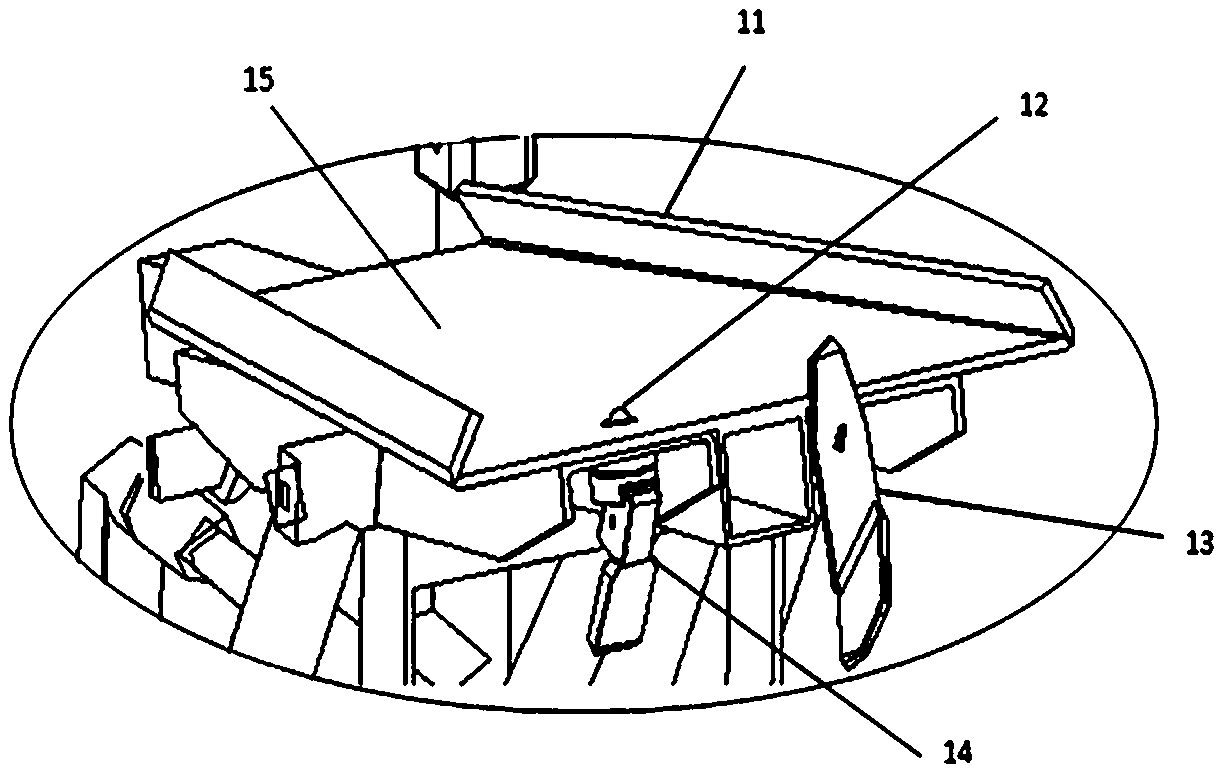
本实用新型提供了一种座椅的快拆机构,包括安装座、定位插板和锁止装置,其特征在于:所述的安装座两边设有朝安装座内弯折的卡壁,所述的定位插板嵌入于两边卡壁并通过锁止装置固定,所述的安装座可为梯形安装座,所述的锁止装置可采用设置在安装座上的插销且定位插板上设有插销孔。本实用新型采用了安装座和定位插板通过锁止装置固定形式,使得座椅主体和底架组件的结合变得便捷,且其操作非常简便,仅需将定位插板插入梯形安装座并打上插销和挡板即可,无需使用工具,无需花费大力气,其梯形安装座的特点是安装的时候,对其对应的安装块具有限位和导向的作用。


