授权公布号:CN219038182U
一种自动校正距离误差的亮度计
有效
申请
2022-12-30
申请公布
1970-01-01
授权
2023-05-16
预估到期
2032-12-30
| 申请号 | CN202223571521.1 |
| 申请日 | 2022-12-30 |
| 授权公布号 | CN219038182U |
| 授权公告日 | 2023-05-16 |
| 分类号 | G01J1/42;G01J1/04;G01J1/02;G01J1/00 |
| 分类 | 测量;测试; |
| 申请人名称 | 杭州远方光电信息股份有限公司 |
| 申请人地址 | 浙江省杭州市滨江区滨康路669号1号楼 |
专利法律状态
2023-05-16
授权
状态信息
授权
摘要
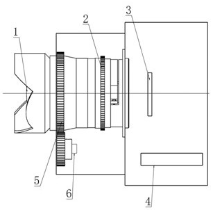
本实用新型公开了一种自动校正距离误差的亮度计,包括镜头、光电探测器和电子测量控制单元,所述镜头上设有透镜、与透镜相联动的旋转式对焦单元、与对焦单元相连接的第一角度传感器和孔径光阑;孔径光阑设置于所述透镜和光电探测器之间,光线从镜头进入后经过孔径光阑被光电探测器接收,光电探测器前设有修正光电探测器光谱响应的滤色片或滤色片色轮;第一角度传感器、光电探测器分别与电子测量控制单元电连接,电子测量控制单元根据第一角度传感器传递的信息对光电探测器的响应进行校正。本实用新型可有效提高亮度计的对焦精度的同时减少因距离变化带来的响应误差。


