授权公布号:CN211905063U
一种光谱透过率测量装置
有效
申请
2019-11-11
申请公布
1970-01-01
授权
2020-11-10
预估到期
2029-11-11
| 申请号 | CN201921930079.2 |
| 申请日 | 2019-11-11 |
| 授权公布号 | CN211905063U |
| 授权公告日 | 2020-11-10 |
| 分类号 | G01N21/25 |
| 分类 | 测量;测试; |
| 申请人名称 | 杭州远方光电信息股份有限公司 |
| 申请人地址 | 浙江省杭州市滨江区滨康路669号 |
专利法律状态
2021-09-14
专利实施许可合同备案的生效、变更及注销
状态信息
专利实施许可合同备案的生效;IPC(主分类):G01N21/25;合同备案号:X2021330000141;让与人:杭州远方光电信息股份有限公司;受让人:杭州远方检测校准技术有限公司;实用新型名称:一种光谱透过率测量装置;申请日:20191111;授权公告日:20201110;许可种类:普通许可;备案日期:20210826
2020-11-10
授权
状态信息
授权
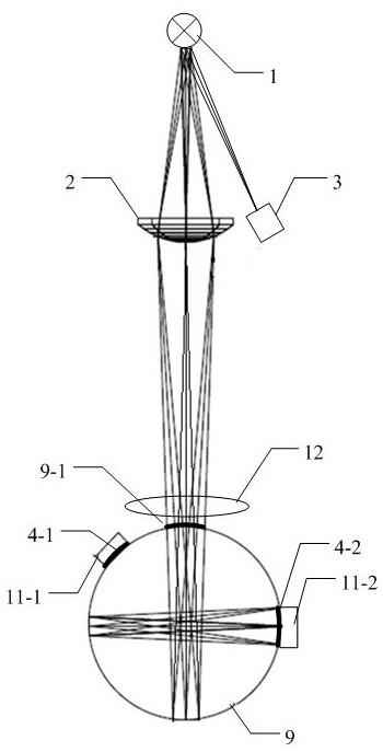
摘要
本实用新型公开一种光谱透过率测量装置,包括光源、第一透镜单元、被测对象、积分球,以及两个或以上的测量通道;所述被测对象靠近积分球设置;所述积分球包括入射窗口和两个或以上的出射窗口;所述光源的光线依次经所述第一透镜单元、所述被测对象和所述入射窗口进入所述积分球;所述参考通道直接接收所述光源的部分出射光线;所述测量通道对应设置于所述出射窗口处,接收出射自所述积分球的光线。本实用新型可消除光源波动对测量通道的测量结果产生的误差等影响;且两个以上的测量通道可以从多层面对被测对象进行测试,丰富测试结果,减少测试步骤。


