授权公布号:CN213635753U
一种按键控制面板
有效
申请
2020-12-24
申请公布
1970-01-01
授权
2021-07-06
预估到期
2030-12-24
| 申请号 | CN202023161451.3 |
| 申请日 | 2020-12-24 |
| 授权公布号 | CN213635753U |
| 授权公告日 | 2021-07-06 |
| 分类号 | H01H9/02;H01H9/04;H01H3/12 |
| 分类 | 基本电气元件; |
| 申请人名称 | 平果科力屋智能科技有限公司 |
| 申请人地址 | 广西壮族自治区百色市平果教育路万冠新天地三期6幢10号 |
专利法律状态
2022-04-12
专利权人的姓名或者名称、地址的变更
状态信息
专利权人的姓名或者名称、地址的变更;IPC(主分类):H01H9/02;变更事项:专利权人;变更前:平果科力屋智能科技有限公司;变更后:平果科力屋智能科技有限公司;变更事项:地址;变更前:531400 广西壮族自治区百色市平果铝城大道城北市场旁;变更后:533000 广西壮族自治区百色市平果教育路万冠新天地三期6幢10号
2021-07-06
授权
状态信息
授权
摘要
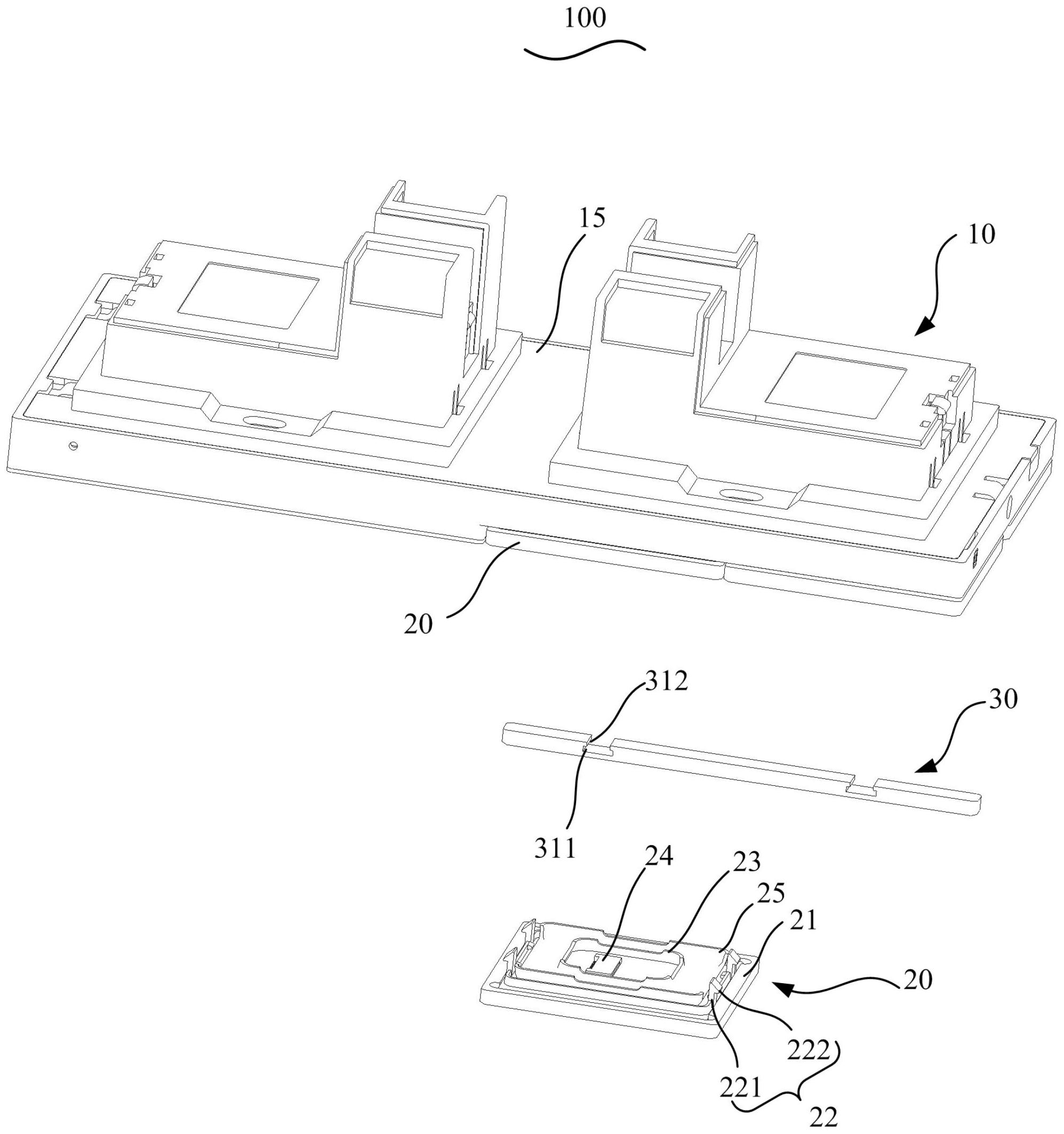
本实用新型公开了一种按键控制面板,所述按键控制面板包括有安装面板、若干按键板及衔接块,所述安装面板开设有若干凹槽,所述若干按键板分别可拆卸地安装在对应凹槽上,相邻两列凹槽之间有间隙,该间隙的底壁上设置有至少一卡座;所述衔接块设置有收容所述至少一卡座的至少一卡槽,所述至少一卡槽包括有宽孔和窄孔,所述宽孔与所述窄孔连通。本实用新型衔接块封闭所述间隙,从而可以防止灰尘堆积或者进入凹槽而影响按键板的正常功能,并且听过卡槽与卡座的结合,可以方便拆卸衔接块,这样方便维修。


