授权公布号:CN206942563U
木塑面防火门门框料
有效
申请
2017-06-14
申请公布
1970-01-01
授权
2018-01-30
预估到期
2027-06-14
| 申请号 | CN201720688415.1 |
| 申请日 | 2017-06-14 |
| 授权公布号 | CN206942563U |
| 授权公告日 | 2018-01-30 |
| 分类号 | E06B5/16;E06B3/08;E06B1/52;E06B1/32 |
| 分类 | 一般门、窗、百叶窗或卷辊遮帘;梯子; |
| 申请人名称 | 四川美立方门业有限公司 |
| 申请人地址 | 四川省遂宁市蓬溪县上游工业园-美立方门业 |
专利法律状态
2018-01-30
授权
状态信息
授权
摘要
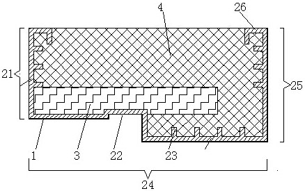
本实用新型的木塑面防火门门框料涉及到防火门。一种木塑面防火门门框料,其特征在于,它主要由木塑面框型材、防火实木条、防火填充料组成,所述的木塑面框型材设有左边、正面、右边、背面转角加强筋,在木塑面框型材的内侧纵向设有内侧加强筋,在木塑面框型材的内侧底部设有防火实木条,木塑面框型材的内侧其余部位填满防火填充料。本实用新型的木塑面防火门门框料,具有结构科学合理,木材用量少,门框料经久耐用,外表面美观,保质期长,生产成本较低,防火等级高,门框不易变形,使用方便等优点,具有推广价值。


