授权公布号:CN218623120U
预制型卷材运动地板
有效
申请
2022-07-13
申请公布
1970-01-01
授权
2023-03-14
预估到期
2032-07-13
| 申请号 | CN202221814196.4 |
| 申请日 | 2022-07-13 |
| 授权公布号 | CN218623120U |
| 授权公告日 | 2023-03-14 |
| 分类号 | E04F15/16;E04F15/22 |
| 分类 | 建筑物; |
| 申请人名称 | 河北英利奥体育用品有限公司 |
| 申请人地址 | 河北省石家庄市高新区天山大街266号方大科技园10-409 |
专利法律状态
2023-03-14
授权
状态信息
授权
摘要
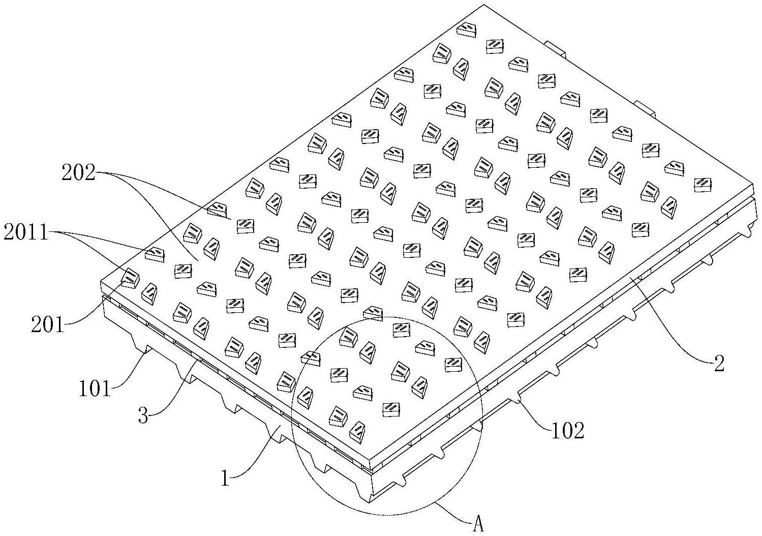
本实用新型提供了一种预制型卷材运动地板,用于铺设跑道、步道及球场等场地,包括用于与地面接触的地板本体,以及设于地板本体上方的防滑层,并于防滑层与地板本体之间设有加强稳定层。本实用新型所述的预制型卷材运动地板通过于防滑层与地板本体之间设有加强稳定层,能够增加运动地板的强度,提高运动地板的尺寸稳定性,有利于该运动地板适应不同季节的温度变化,并提升运动地板的运动保护性能,并且,也能够使得在铺设运动地板时的施工工艺更为简单,有利于缩短施工周期。


