授权公布号:CN113964892B
一种车载蓄电池智能补电方法
有效
申请
2021-09-23
申请公布
2022-01-21
授权
2024-03-22
预估到期
2041-09-23
| 申请号 | CN202111116379.9 |
| 申请日 | 2021-09-23 |
| 申请公布号 | CN113964892A |
| 申请公布日 | 2022-01-21 |
| 授权公布号 | CN113964892B |
| 授权公告日 | 2024-03-22 |
| 分类号 | H02J7/00;H02J7/34;B60R16/02 |
| 分类 | 发电、变电或配电; |
| 申请人名称 | 合众新能源汽车股份有限公司 |
| 申请人地址 | 浙江省嘉兴市桐乡市梧桐街道同仁路988号 |
专利法律状态
2024-03-22
授权
状态信息
授权
2023-03-31
著录事项变更
状态信息
著录事项变更;IPC(主分类):H02J7/00;变更事项:申请人;变更前:合众新能源汽车有限公司;变更后:合众新能源汽车股份有限公司;变更事项:地址;变更前:314500 浙江省嘉兴市桐乡市梧桐街道同仁路988号;变更后:314500 浙江省嘉兴市桐乡市梧桐街道同仁路988号
2022-02-15
实质审查的生效
状态信息
实质审查的生效;IPC(主分类):H02J7/00;申请日:20210923
2022-01-21
公布
状态信息
公布
摘要
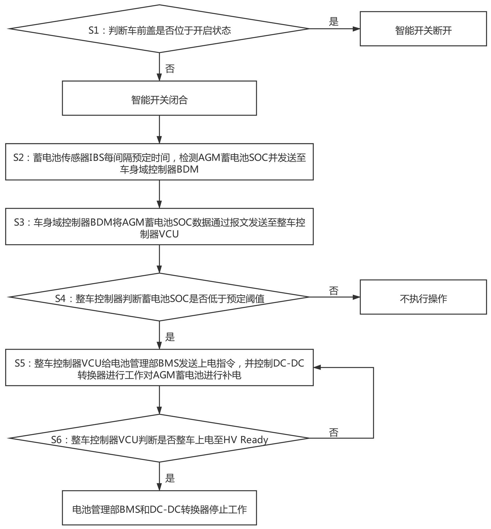
本发明提供一种车载蓄电池智能补电方法,涉及交通工具技术领域,方法包括:S1:车前盖关闭时,智能开关闭合;S2:蓄电池传感器检测蓄电池SOC发送至车身域控制器;S3:车身域控制器将蓄电池SOC发送至整车控制器;S4:整车控制器判断蓄电池SOC是否低于预定阈值,若是则执行S5;反则不执行操作;S5:整车控制器给电池管理部发送上电指令,并控制DC‑DC对蓄电池补电;S6:整车控制器判断是否整车Ready;若是则停止上电;反则继续执行S5。本发明补电检测精准,不会像BMS测量蓄电池端电压存在误差,有效避免频繁进行补电导致蓄电池SOC造成续航能力下降;也能防止维修人员触电危险。


