授权公布号:CN217188331U
一种制浆面层粗筛系统
有效
申请
2022-04-09
申请公布
1970-01-01
授权
2022-08-16
预估到期
2032-04-09
| 申请号 | CN202220827920.0 |
| 申请日 | 2022-04-09 |
| 授权公布号 | CN217188331U |
| 授权公告日 | 2022-08-16 |
| 分类号 | B01D35/16 |
| 分类 | 一般的物理或化学的方法或装置; |
| 申请人名称 | 平湖荣成环保科技有限公司 |
| 申请人地址 | 浙江省嘉兴市平湖市独山港镇翁金线星华段1号 |
专利法律状态
2022-08-16
授权
状态信息
授权
摘要
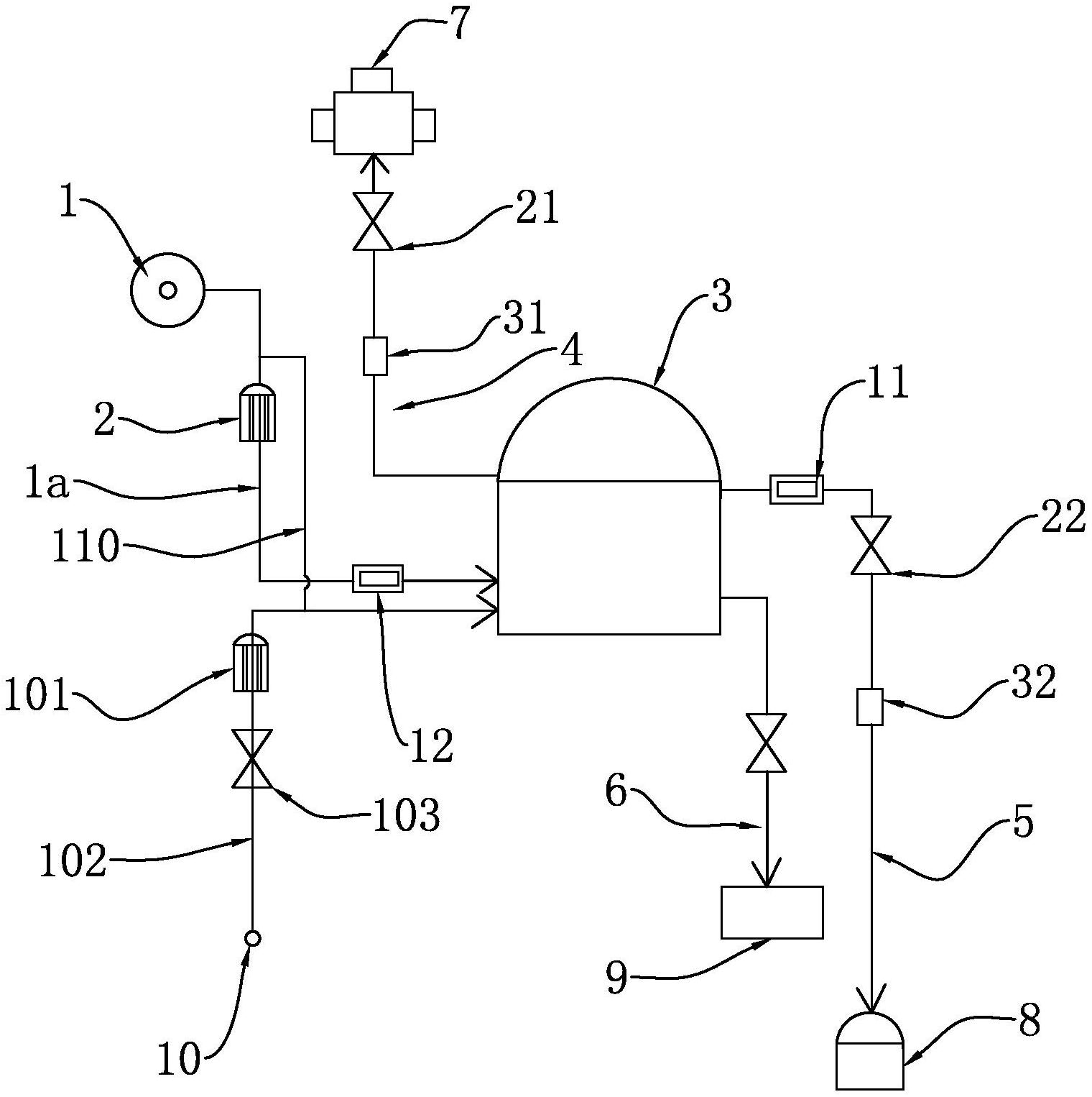
本实用新型涉及纸浆粗筛的技术领域,它涉及一种制浆面层粗筛系统,包括粗浆塔、浆泵、第一粗筛器、进料管路和出料管路,浆泵通过进料管路连接至第一粗筛器上,出浆管道包括良浆管、尾浆管和废浆管,第一粗筛器通过良浆管和除砂器连接,第一粗筛器通过尾浆管和第二粗筛器连接,第一粗筛器通过废浆管和废料池连接,进料管路和良浆管上接有压力变速器,尾浆管和良浆管上均设有流量计和电磁阀,第一粗筛器上连接有冲洗管路,冲洗管路的原端接至自来水,本实用新型结构合理简单,实用性强,可自动对粗筛器内纸浆浓度调整。


