授权公布号:CN213943421U
一种饲料生产用除尘装置
有效
申请
2020-11-24
申请公布
1970-01-01
授权
2021-08-13
预估到期
2030-11-24
| 申请号 | CN202022737324.7 |
| 申请日 | 2020-11-24 |
| 授权公布号 | CN213943421U |
| 授权公告日 | 2021-08-13 |
| 分类号 | B02C18/14;B02C18/24;B02C23/10;B07B1/28;B07B1/42;B07B1/46;B08B15/04;A23N17/00;B01D46/00 |
| 分类 | 破碎、磨粉或粉碎;谷物碾磨的预处理; |
| 申请人名称 | 淮安普瑞纳饲料有限公司 |
| 申请人地址 | 江苏省淮安市淮阴城北工业园幸福路 |
专利法律状态
2021-08-13
授权
状态信息
授权
摘要
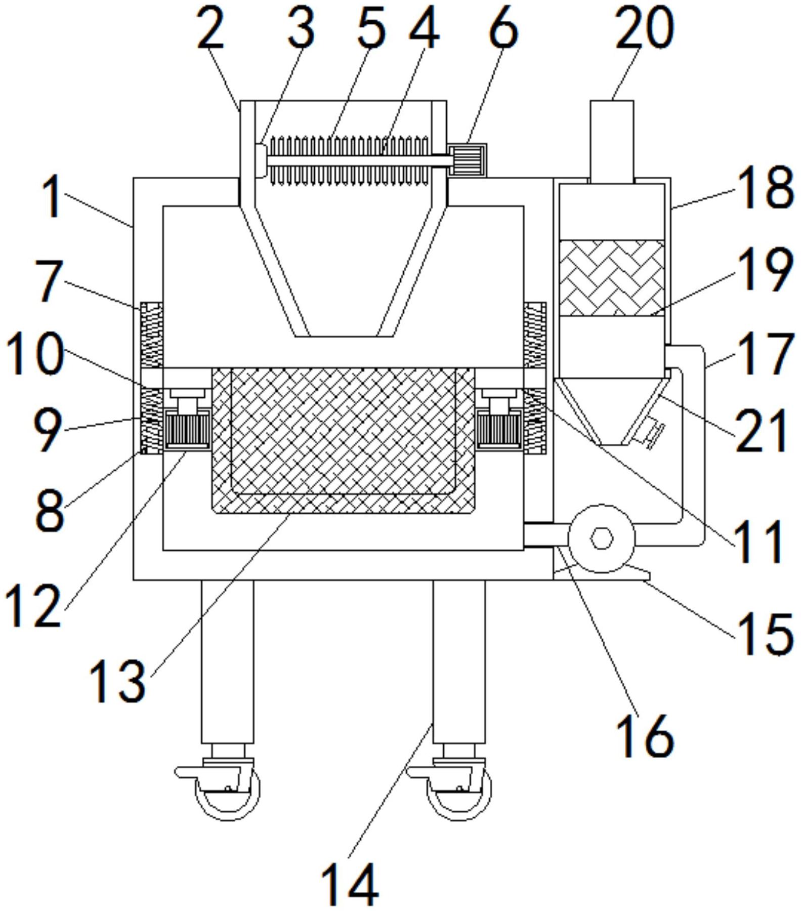
本实用新型涉及饲料生产技术领域,且公开了一种饲料生产用除尘装置,包括机体,所述机体的顶部固定连接有进料管,所述进料管的左侧壁固定连接有轴承,所述轴承的内侧固定连接有转轴,所述转轴的外侧固定连接有均匀分布的刀片,所述转轴的右侧与电机的输出轴固定连接,所述机体的左右两侧壁均开设有滑槽,所述滑槽的内顶壁和内底壁均固定连接有限位柱,所述限位柱的外侧套接有弹簧,所述滑槽的内侧滑动连接有滑块,两个所述滑块相对的一侧均固定连接有支撑块。该饲料生产用除尘装置,能够有效的将杂物和灰尘进行隔离,同时能够防止部分灰尘溢出,从而防止工作人员吸入后对呼吸道造成影响,同时防止环境造成二次污染。


