授权公布号:CN213475951U
一种教槽料混合发酵装置
有效
申请
2020-08-24
申请公布
1970-01-01
授权
2021-06-18
预估到期
2030-08-24
| 申请号 | CN202021783318.9 |
| 申请日 | 2020-08-24 |
| 授权公布号 | CN213475951U |
| 授权公告日 | 2021-06-18 |
| 分类号 | C12M1/02;C12M1/00;A23N17/00 |
| 分类 | 生物化学;啤酒;烈性酒;果汁酒;醋;微生物学;酶学;突变或遗传工程; |
| 申请人名称 | 广东旺大集团股份有限公司 |
| 申请人地址 | 广东省广州市萝岗区开发区科学城彩频路9号1002房 |
专利法律状态
2021-06-18
授权
状态信息
授权
摘要
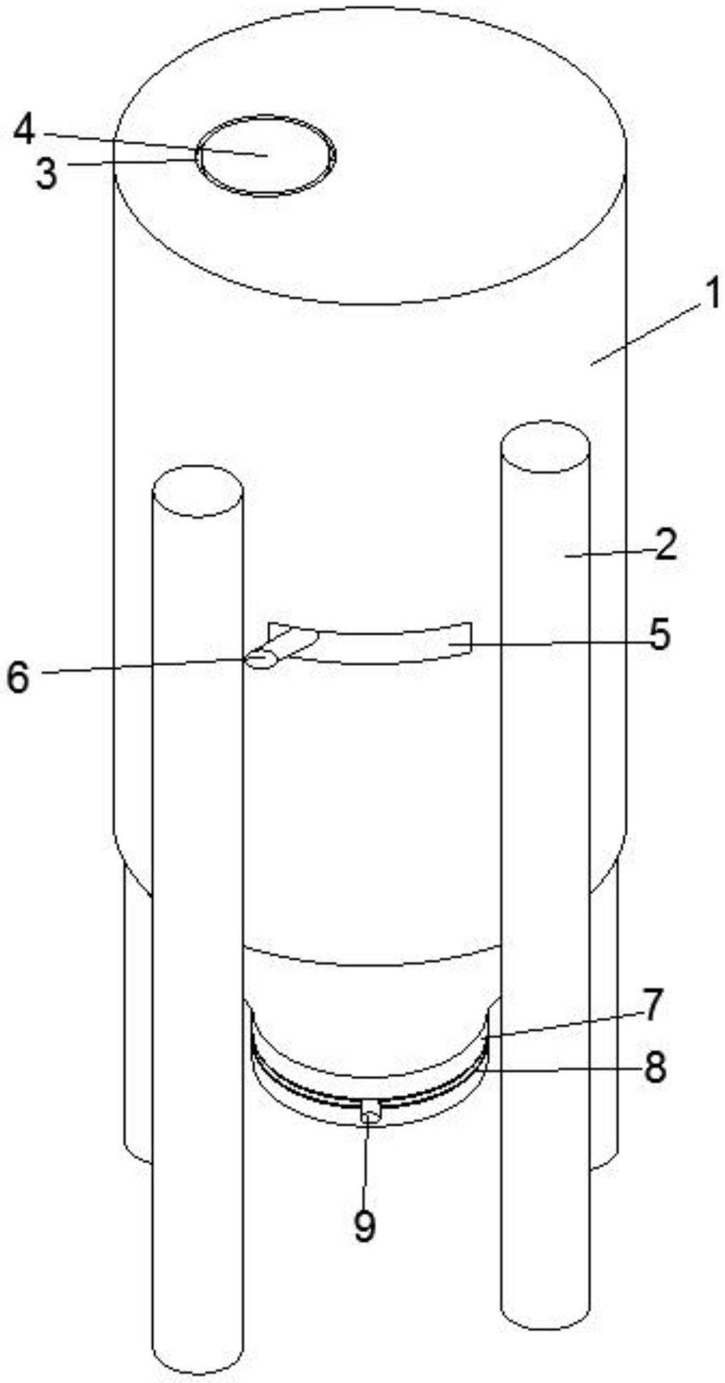
本实用新型公开了发酵技术领域的一种教槽料混合发酵装置;包括罐体,罐体的外壁均匀固定连接有四个支撑柱,罐体一侧的顶部贯穿开设有进料口,进料口的一侧通过铰链活动连接有顶盖,罐体的底部外壁固定连接有下料斗,下料斗前端的外壁贯穿开设第一滑槽,第一滑槽内滑动连接有挡板,挡板远离第一滑槽的一端外壁固定连接有拉环,罐体底端的内壁开设有发酵槽,罐体顶端的内部开设有搅拌槽,搅拌槽和发酵槽之间固定连接有固定板,固定板的底部设有活动板,活动板的外壁固定连接有滑块。本实用新型的有益效果是:本装置使用简单,将教槽料的混合、搅拌和发酵过程集中,节省企业生产的时间和人工成本,增大企业生产效率。


