授权公布号:CN117358049B
一种清洁饲料发酵废气处理装置及其使用方法
有效
申请
2023-12-07
申请公布
2024-01-09
授权
2024-02-23
预估到期
2043-12-07
| 申请号 | CN202311670311.4 |
| 申请日 | 2023-12-07 |
| 申请公布号 | CN117358049A |
| 申请公布日 | 2024-01-09 |
| 授权公布号 | CN117358049B |
| 授权公告日 | 2024-02-23 |
| 分类号 | B01D53/78 |
| 分类 | 一般的物理或化学的方法或装置; |
| 申请人名称 | 广东旺大集团股份有限公司 |
| 申请人地址 | 广东省广州市萝岗区开发区科学城彩频路9号1002房 |
专利法律状态
2024-02-23
授权
状态信息
授权
2024-01-26
实质审查的生效
状态信息
实质审查的生效;IPC(主分类):B01D53/78;申请日:20231207
2024-01-09
公布
状态信息
公布
摘要
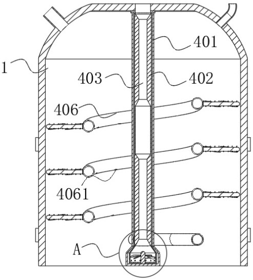
本发明涉及饲料发酵废气处理装置技术领域,具体涉及一种清洁饲料发酵废气处理装置及其使用方法,提出如下技术方案:包括反应腔和安装在其一侧的进气管,和用于增加废气处理效率的增速机构,包括空心管,空心管的内部设置有竖管,竖管的内部开设有两组加速腔,加速腔的底面转动连接有转轴,转轴的表面等距安装有多组驱动叶,空心管的外侧套设有弹簧管;以及用于加快废气反应速度的搅拌件,包括多组转动安装在弹簧管表面的圆杆,圆杆的表面等距环绕安装有多组叶片,且叶片为螺旋结构,多组叶片之间等距安装有多组安装有刺环。本发明通过各个零部件之间的配合使用,能够在对废气处理时,能够加快废气处理的效率的同时保证废气处理的质量。


