授权公布号:CN215507057U
一种牛羊猪饲料破碎机
有效
申请
2021-08-24
申请公布
1970-01-01
授权
2022-01-14
预估到期
2031-08-24
| 申请号 | CN202122002818.5 |
| 申请日 | 2021-08-24 |
| 授权公布号 | CN215507057U |
| 授权公告日 | 2022-01-14 |
| 分类号 | B02C13/18;B02C13/30;B02C13/284;A23N17/00;B02C23/14;B02C23/16;B07B1/24;B07B1/42;B07B1/46 |
| 分类 | 破碎、磨粉或粉碎;谷物碾磨的预处理; |
| 申请人名称 | 天津通和饲料有限公司 |
| 申请人地址 | 天津市武清区南蔡村镇京津公路东侧 |
专利法律状态
2022-01-14
授权
状态信息
授权
摘要
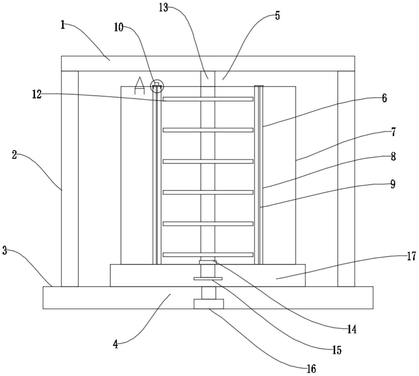
本实用新型公开了一种牛羊猪饲料破碎机,包括支撑板、支撑架、底座、旋转组件、破碎组件、筛分组件和存放箱,所述支撑架的一端设于底座上,所述支撑板设于支撑架的另一端上,所述旋转组件设于底座上,所述存放箱设于旋转组件上,所述筛分组件设于旋转组件上,所述筛分组件设于存放箱内,所述破碎组件上端设于支撑板上,所述破碎组件下端设于旋转组件上,所述破碎组件设于存放箱内,本实用新型属于破碎技术领域,具体是指一种调整粉碎颗粒直径的牛羊猪饲料破碎机。


