授权公布号:CN220497742U
一种手电筒反光罩毛料的分料装置
有效
申请
2023-08-07
申请公布
1970-01-01
授权
2024-02-20
预估到期
2033-08-07
| 申请号 | CN202322096110.X |
| 申请日 | 2023-08-07 |
| 授权公布号 | CN220497742U |
| 授权公告日 | 2024-02-20 |
| 分类号 | B22D31/00 |
| 分类 | 铸造;粉末冶金; |
| 申请人名称 | 宁波圣兰特电子科技有限公司 |
| 申请人地址 | 浙江省宁波市慈溪市龙山镇慈东滨海区 |
专利法律状态
2024-02-20
授权
状态信息
授权
摘要
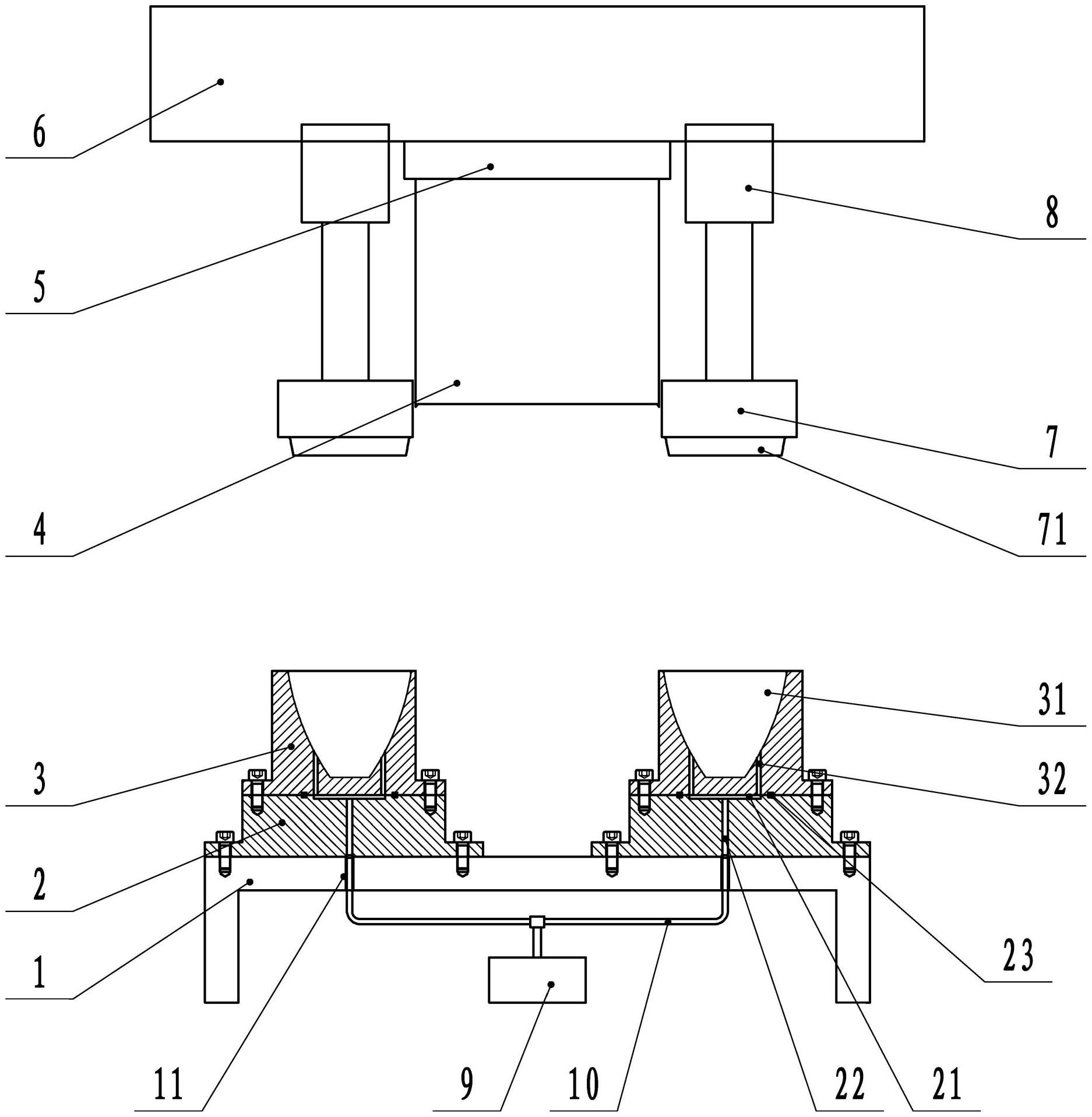
一种手电筒反光罩毛料的分料装置,包括用于放置反光罩毛料的下模、设于下模上方的冲刀、对称设于冲刀两侧的压块,下模成对设置,下模上部沿前后长度方向均匀加工定位槽,定位槽与反光罩毛料上的反光罩匹配设置,定位槽侧壁上加工导气孔Ⅰ贯穿至下模底部,两个下模相对的侧壁上相向凸起形成凸沿;反光罩毛料放置于下模上,反光罩匹配伸入定位槽,压块下移并将反光罩压紧定位,冲刀配合凸沿对反光罩边缘处裁切后完成分料,最后向导气孔Ⅰ内进气并将反光罩吹出完成出料。该装置中反光罩毛料在下模中定位后通过冲刀来切割分料,并设有导气孔Ⅰ,通过向导气孔Ⅰ中进气辅助出料,操作方便,并且分料之后的反光罩边缘处平整,提升了产品质量。


