授权公布号:CN216952684U
一种多功能手电筒
有效
申请
2022-03-11
申请公布
1970-01-01
授权
2022-07-12
预估到期
2032-03-11
| 申请号 | CN202220540470.7 |
| 申请日 | 2022-03-11 |
| 授权公布号 | CN216952684U |
| 授权公告日 | 2022-07-12 |
| 分类号 | F21L4/08;F21V33/00;F21V23/04;B25D1/00;F21Y115/10N |
| 分类 | 照明; |
| 申请人名称 | 宁波圣兰特电子科技有限公司 |
| 申请人地址 | 浙江省宁波市慈溪市龙山镇慈东滨海区 |
专利法律状态
2022-07-12
授权
状态信息
授权
摘要
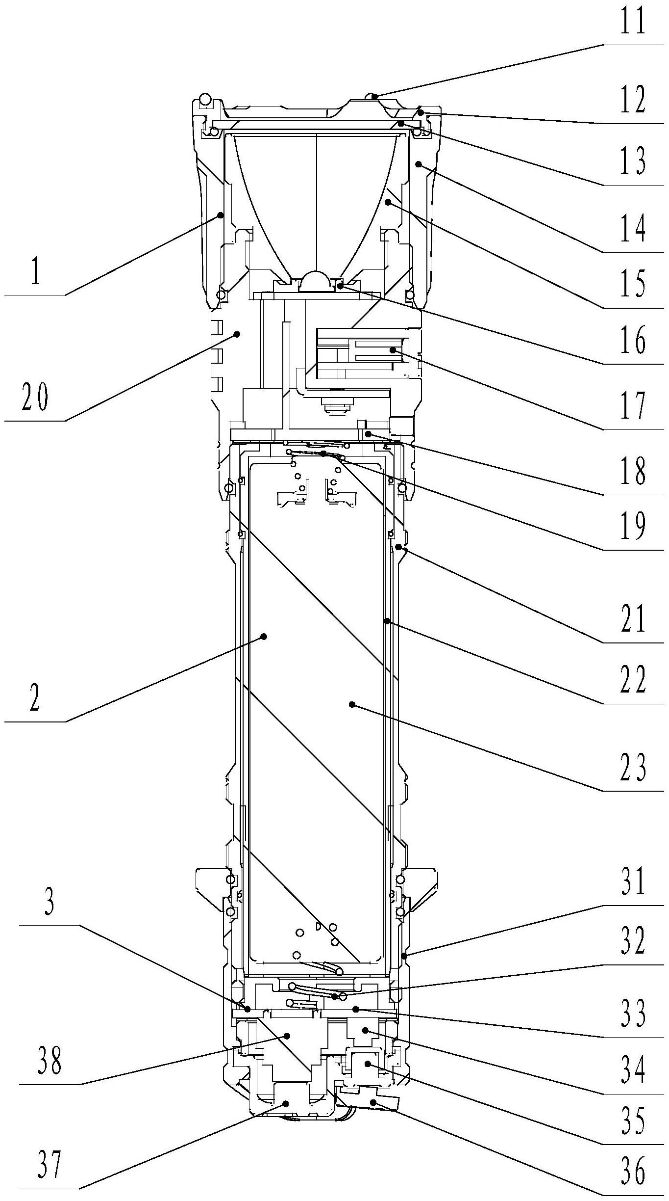
一种多功能手电筒,包括依次连接的灯头、灯身和灯尾;灯头包括灯头壳体,灯头壳体一端安装前封盖,前封盖呈环状并且中部安装镜片,前封盖边缘处均匀安装滚珠,灯头壳体内设有反光杯,灯头壳体另一端连接接口套,接口套内设有LED灯、灯头PCB组件;灯身包括灯身壳体,灯身壳体内设有电池仓,电池仓内安装充电电池;灯尾包括尾盖筒,尾盖筒内设有灯尾PCB组件,灯尾PCB组件上设有按钮开关和触点开关,尾盖筒端部相应设有按键帽和按压键。该手电筒结构中通过在灯头的前封盖上安装滚珠,实现安全锤的功能,灯尾PCB组件上增设触点开关并通过按压键实时控制LED灯的亮灯和灭灯效果,起到警示作用,整体结构合理,实用性强。


