授权公布号:CN214972497U
一种干粉生产线产品回收装置
有效
申请
2021-01-12
申请公布
1970-01-01
授权
2021-12-03
预估到期
2031-01-12
| 申请号 | CN202120065185.X |
| 申请日 | 2021-01-12 |
| 授权公布号 | CN214972497U |
| 授权公告日 | 2021-12-03 |
| 分类号 | B01D46/02;B01D46/06 |
| 分类 | 一般的物理或化学的方法或装置; |
| 申请人名称 | 北京市智恒工贸有限责任公司 |
| 申请人地址 | 北京市大兴区长子营镇长营工业园区16号 |
专利法律状态
2021-12-03
授权
状态信息
授权
摘要
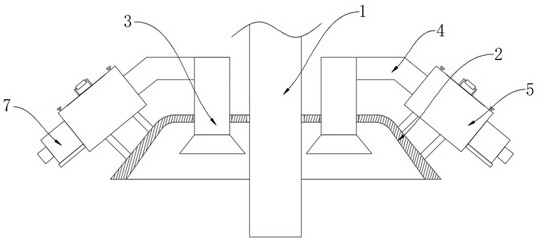
本实用新型公开了一种干粉生产线产品回收装置,包括出料管,所述出料管的外表面固定安装有聚集罩,所述聚集罩的上表面嵌设有回收管,所述回收管的数量为四个,每两个回收管为一组,每组所述回收管的相对面均设置有T型管道,所述回收管的底端延伸至聚集罩的内部并固定安装有回收罩,所述聚集罩的倾斜表面通过四个安装杆固定安装有回收箱,所述回收箱的内部设置有安装网管。该干粉生产线产品回收装置,通过设置聚集罩、回收管、T型管道、回收箱、安装网管、回收风机和粉尘过滤袋,并将回收管的数量设置为四个,使该回收装置能够对干粉装袋时产生的粉尘进行有效回收,提高了工作间的空气质量,同时降低了企业成本。


