授权公布号:CN214494630U
一种干粉生产线上料装置
有效
申请
2021-01-12
申请公布
1970-01-01
授权
2021-10-26
预估到期
2031-01-12
| 申请号 | CN202120064160.8 |
| 申请日 | 2021-01-12 |
| 授权公布号 | CN214494630U |
| 授权公告日 | 2021-10-26 |
| 分类号 | B65G41/00;B65G69/12;B65G65/46;B65G33/24 |
| 分类 | 输送;包装;贮存;搬运薄的或细丝状材料; |
| 申请人名称 | 北京市智恒工贸有限责任公司 |
| 申请人地址 | 北京市大兴区长子营镇长营工业园区16号 |
专利法律状态
2021-10-26
授权
状态信息
授权
摘要
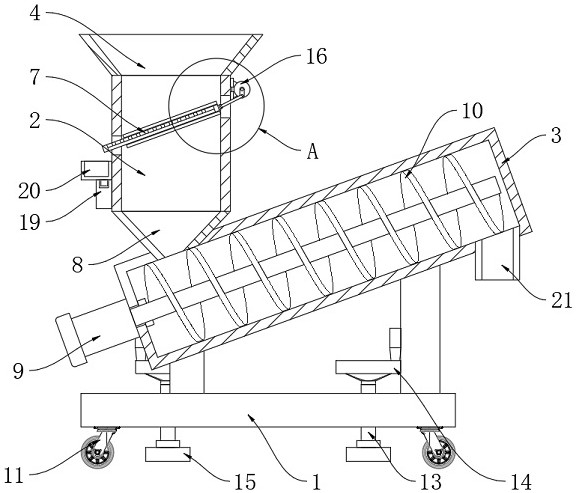
本实用新型公开了一种干粉生产线上料装置,包括底座,所述底座的上表面通过支撑柱分别固定连接有箱体和倾斜的输送外壳,所述箱体的上表面固定连接有锥形进料斗,所述箱体的内前壁和内后壁均固定连接有凹形滑轨,所述凹形滑轨的内壁滑动连接有筛框,所述筛框的内壁固定连接有筛网,所述箱体的下表面固定连接有锥形斗,且锥形斗的底端延伸至输送外壳的内顶壁。该干粉生产线上料装置,通过设置转动电机、螺旋叶片、摇动电机、凸轮轴、连杆和筛框,便于摇动电机的启动使凸轮轴带动连杆移动,并带动筛框做往复运动,对原料进行分筛,同时在转动电机带动螺旋叶片推送原料上料,从而使该上料装置具备分筛的功能,提升生产效率。


