授权公布号:CN212884812U
全自动挂锁商标铆接装置
有效
申请
2020-04-24
申请公布
1970-01-01
授权
2021-04-06
预估到期
2030-04-24
| 申请号 | CN202020643142.0 |
| 申请日 | 2020-04-24 |
| 授权公布号 | CN212884812U |
| 授权公告日 | 2021-04-06 |
| 分类号 | B21J15/44;B21J15/14;B21J15/42;B21J15/18 |
| 分类 | 基本上无切削的金属机械加工;金属冲压; |
| 申请人名称 | 烟台三环锁业集团浦江有限公司 |
| 申请人地址 | 浙江省金华市浦江县浦阳街道明泉东路102-1号 |
专利法律状态
2021-04-06
授权
状态信息
授权
摘要
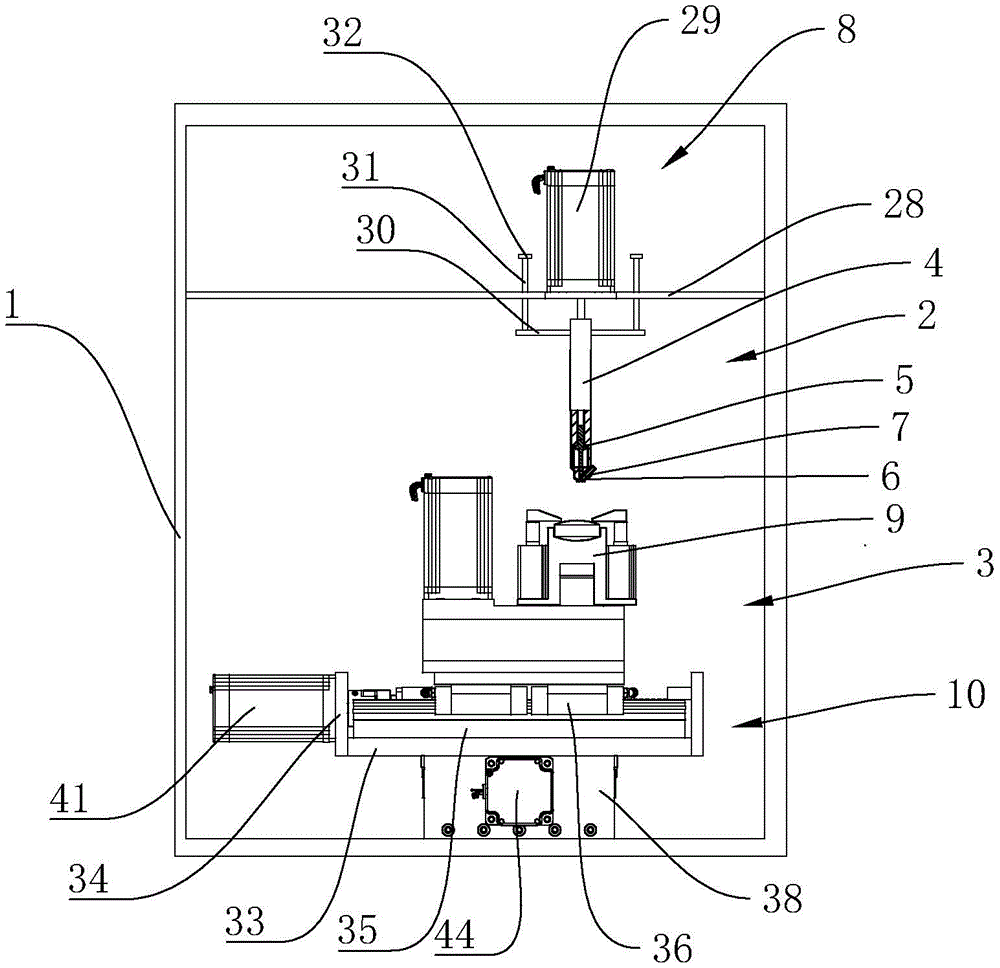
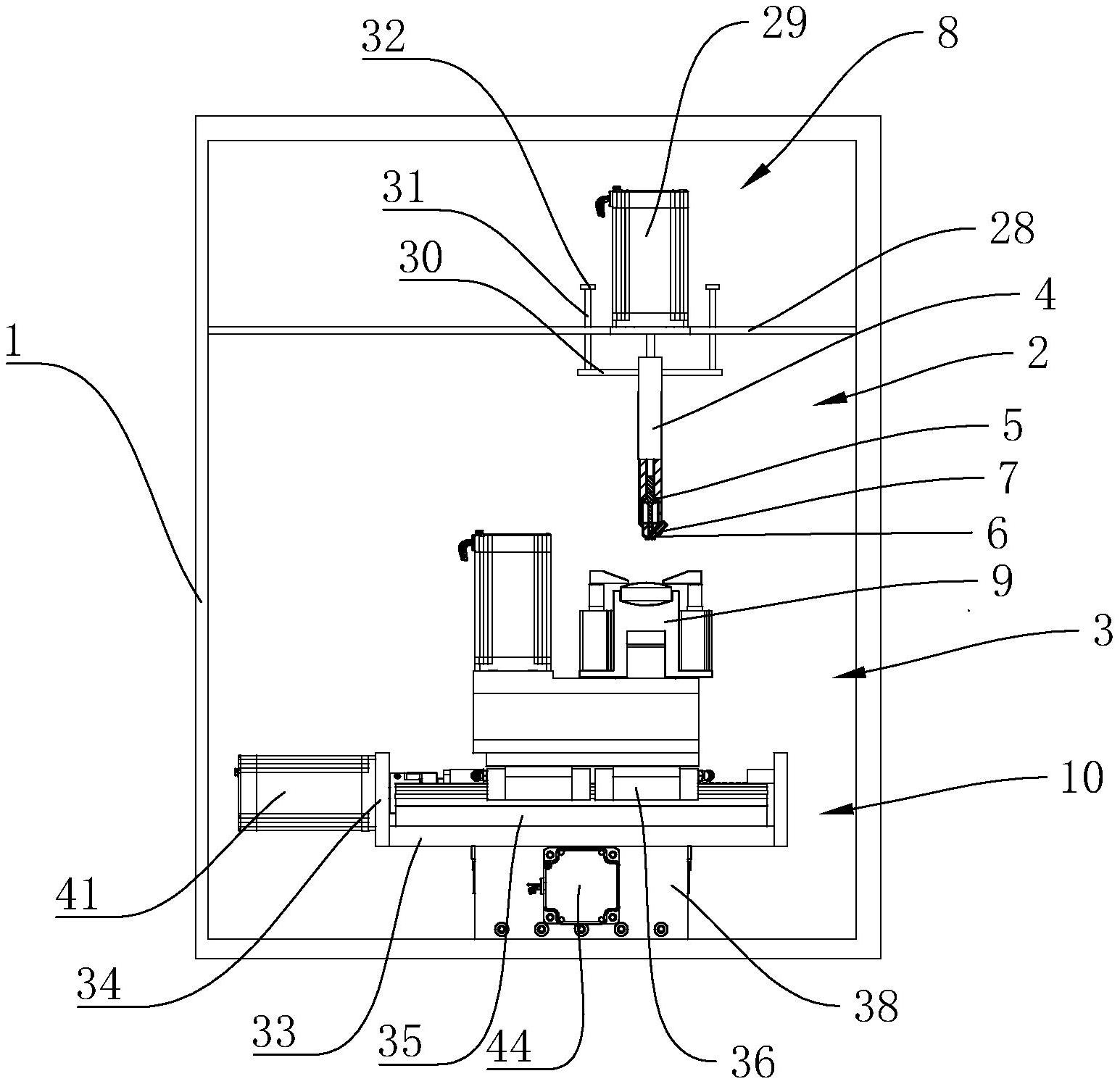
本实用新型提供了一种全自动挂锁商标铆接装置,属于铆接设备技术领域。它包括设置在机架内的铆接机构和挂锁定位紧固机构,所述的铆接机构包括气锤以及与气锤相连的气锤升降组件,所述的气锤内设有截面呈中字型的冲头,所述的气锤底部还设有进料通道且气锤侧部还设有与进料通道连通的进料管。挂锁定位紧固机构能将挂锁和商标铭牌进行固定,且能驱动挂锁在水平方向上移动时挂锁上的铆接孔与铆接机构快速精准对齐,从而实现挂锁商标的自动铆接,能有效的增加挂锁商标的铆接效率,且能大大降低人员的工作量。


