授权公布号:CN111674029B
锁具薄膜包覆装置及其包覆方法
有效
申请
2020-06-30
申请公布
2020-09-18
授权
2021-12-14
预估到期
2040-06-30
| 申请号 | CN202010622478.3 |
| 申请日 | 2020-06-30 |
| 申请公布号 | CN111674029A |
| 申请公布日 | 2020-09-18 |
| 授权公布号 | CN111674029B |
| 授权公告日 | 2021-12-14 |
| 分类号 | B29C63/02;B29C63/00;B29C63/40;B29C31/08;B29C35/04 |
| 分类 | 塑料的加工;一般处于塑性状态物质的加工; |
| 申请人名称 | 烟台三环锁业集团浦江有限公司 |
| 申请人地址 | 浙江省金华市浦江县仙华街道一点红大道1069号 |
专利法律状态
2021-12-14
授权
状态信息
授权
2021-12-03
著录事项变更
状态信息
著录事项变更;IPC(主分类):B29C63/02;变更事项:申请人;变更前:烟台三环锁业集团浦江有限公司;变更后:烟台三环锁业集团浦江有限公司;变更事项:地址;变更前:322305 浙江省金华市浦江县浦阳街道明泉东路102-1号;变更后:322200 浙江省金华市浦江县仙华街道一点红大道1069号
2020-10-20
实质审查的生效
状态信息
实质审查的生效;IPC(主分类):B29C63/02;申请日:20200630
2020-09-18
公布
状态信息
公布
摘要
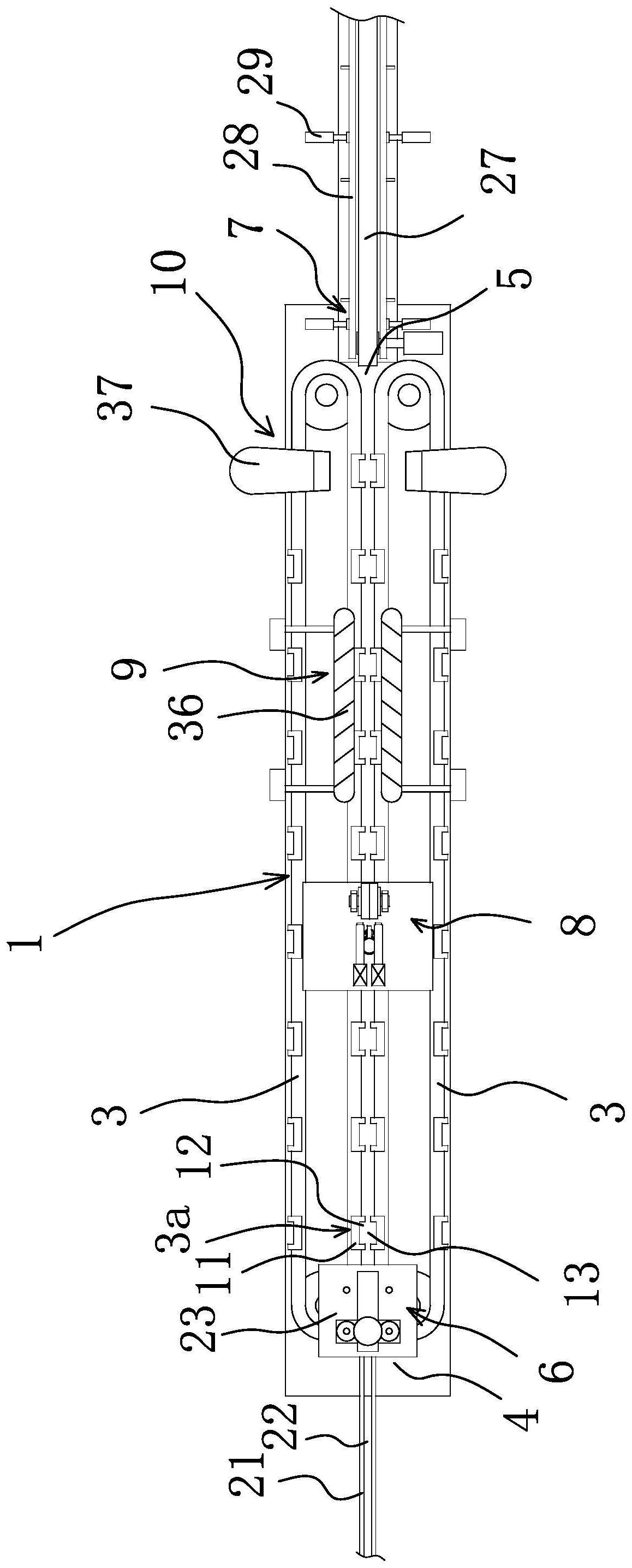
本发明提供了一种锁具薄膜包覆装置及其包覆方法。它解决了现有的技术问题。本锁具薄膜包覆装置及其包覆方法,包括机架,所述的机架上设有呈两条轴对称设置且用于输送锁具的送料链条,所述的送料链条上设有架料机构,所述的机架的前端设有进料口,所述的机架的后端设有出料口,所述的进料口上设有进料机构,所述的出料口上设有出料机构,所述的机架上自进料口向出料口依次设有套标机构、锁身加热式贴附机构、吹风式覆膜机构,且所述的锁具呈倒立式输送。本发明具有薄膜包覆效果好等优点。


