授权公布号:CN217735166U
一种可更换锁芯的挂锁
有效
申请
2022-08-02
申请公布
1970-01-01
授权
2022-11-04
预估到期
2032-08-02
| 申请号 | CN202222014993.0 |
| 申请日 | 2022-08-02 |
| 授权公布号 | CN217735166U |
| 授权公告日 | 2022-11-04 |
| 分类号 | E05B67/22;E05B67/38 |
| 分类 | 锁;钥匙;门窗零件;保险箱; |
| 申请人名称 | 烟台三环锁业集团浦江有限公司 |
| 申请人地址 | 浙江省金华市浦江县仙华街道一点红大道1069号 |
专利法律状态
2022-11-04
授权
状态信息
授权
摘要
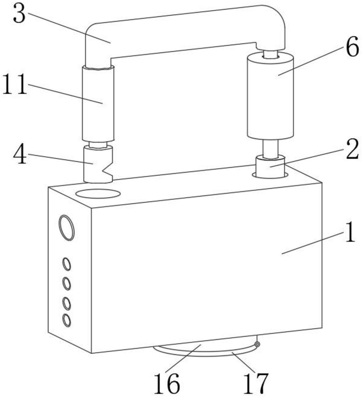
本实用新型公开了一种可更换锁芯的挂锁,包括锁钩体和锁身主体,所述锁钩体的一端嵌入锁身主体的通孔中并与锁钩弹簧相连接,所述锁钩体包括主钩杆,所述主钩杆的下端嵌入锁身主体的通孔中并与锁钩弹簧相连接,所述主钩杆的上端固定连接有第一伸缩弹力机构,且第一伸缩弹力机构远离主钩杆的一端固定连接有U形钩体。本实用新型,通过设置第一伸缩弹力机构可调节U形钩体与主钩杆的间距,设置第二伸缩弹力机构可实现锁钩头与U形钩体的间距调节,从而实现整个锁钩体的长度调节,便于对不同大小的锁住部分进行上锁使用,实用性更强,设置固定磁环和密封磁盖,开合方便稳定,且对锁孔起到防水保护作用。


