授权公布号:CN212888915U
锁具薄膜包覆装置
有效
申请
2020-06-30
申请公布
1970-01-01
授权
2021-04-06
预估到期
2030-06-30
| 申请号 | CN202021260255.9 |
| 申请日 | 2020-06-30 |
| 授权公布号 | CN212888915U |
| 授权公告日 | 2021-04-06 |
| 分类号 | B29C63/02;B29C63/00 |
| 分类 | 塑料的加工;一般处于塑性状态物质的加工; |
| 申请人名称 | 烟台三环锁业集团浦江有限公司 |
| 申请人地址 | 浙江省金华市浦江县浦阳街道明泉东路102-1号 |
专利法律状态
2021-04-06
授权
状态信息
授权
摘要
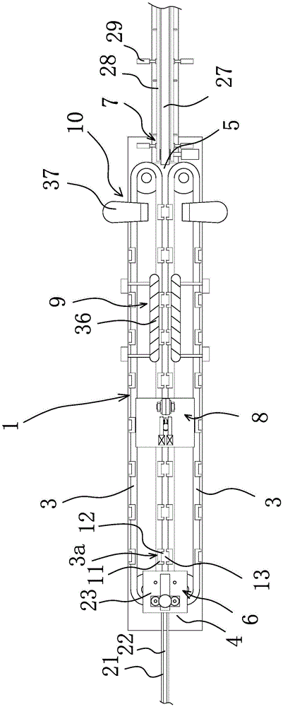
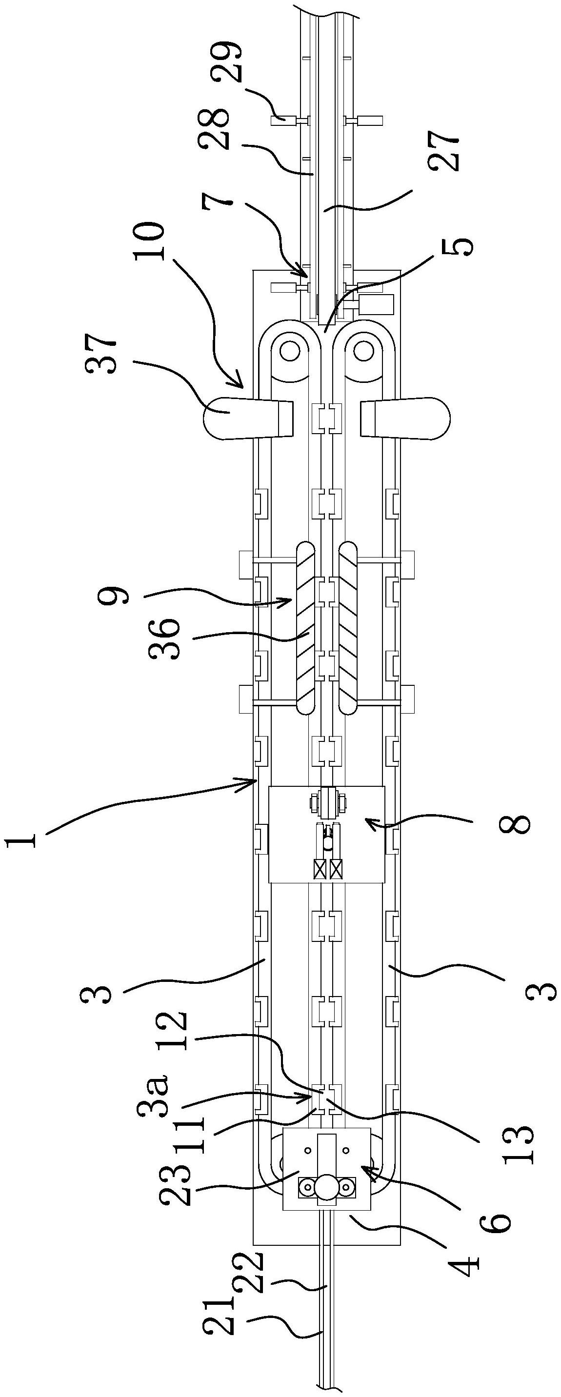
本实用新型提供了一种锁具薄膜包覆装置。它解决了现有的技术问题。本锁具薄膜包覆装置,包括机架,所述的机架上设有呈两条轴对称设置且用于输送锁具的送料链条,所述的送料链条上设有架料机构,所述的机架的前端设有进料口,所述的机架的后端设有出料口,所述的进料口上设有进料机构,所述的出料口上设有出料机构,所述的机架上自进料口向出料口依次设有套标机构、锁身加热式贴附机构、吹风式覆膜机构,且所述的锁具呈倒立式输送。本实用新型具有薄膜包覆效果好等优点。


