授权公布号:CN210677641U
锁梁销自动装配设备
有效
申请
2019-06-12
申请公布
1970-01-01
授权
2020-06-05
预估到期
2029-06-12
| 申请号 | CN201920882110.3 |
| 申请日 | 2019-06-12 |
| 授权公布号 | CN210677641U |
| 授权公告日 | 2020-06-05 |
| 分类号 | B23P19/027;B23P19/00 |
| 分类 | 机床;不包含在其他类目中的金属加工; |
| 申请人名称 | 烟台三环锁业集团浦江有限公司 |
| 申请人地址 | 浙江省金华市浦江县浦阳街道明泉东路102-1号 |
专利法律状态
2020-06-05
授权
状态信息
授权
摘要
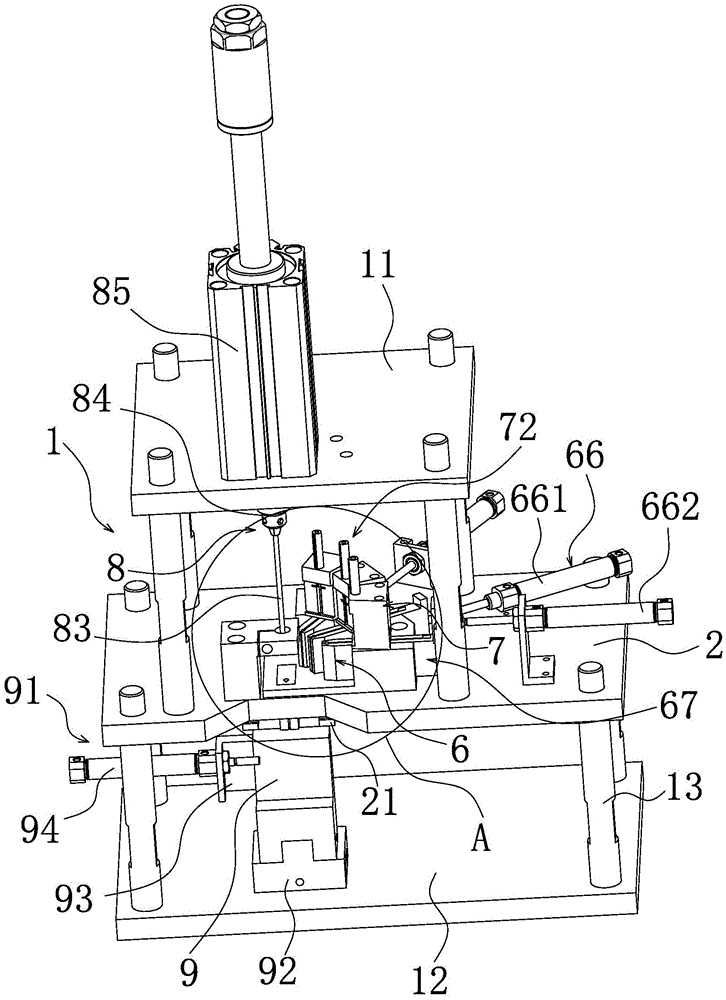
本实用新型提供了一种锁梁销自动装配设备,它解决了锁梁销装配设备自动化程度低、装配效果差的问题,其包括装配机架体,装配机架体上设有水平设置的固定板,固定板上设有推料底座,推料底座上设有安装槽,安装槽周向内侧设有落料块,落料块上竖直设置有落料槽,且推料底座的一端还设有若干推板体,推板体的一端设有落料孔,另一端设有推板驱动机构,每一个推板体上端均设有分料块,分料块上设有落料管安装槽,落料管安装槽中设有落料管,且固定板上方设有与落料槽相对应的冲头组件,下端设有可放置锁芯且与落料槽相对应的锁体座,锁体座一侧设有锁芯推动装置。本实用新型具有自动化程度高、装配效果好、灵活性高等优点。


