授权公布号:CN210500803U
一种防渗水泥制备装置
有效
申请
2019-06-24
申请公布
1970-01-01
授权
2020-05-12
预估到期
2029-06-24
| 申请号 | CN201920951601.9 |
| 申请日 | 2019-06-24 |
| 授权公布号 | CN210500803U |
| 授权公告日 | 2020-05-12 |
| 分类号 | B28C5/06;B28C7/16 |
| 分类 | 加工水泥、黏土或石料; |
| 申请人名称 | 兴宁市龙江建材实业有限公司 |
| 申请人地址 | 广东省梅州市兴宁市龙田镇兴中公路侧(现居委兴平路2) |
专利法律状态
2020-05-12
授权
状态信息
授权
摘要
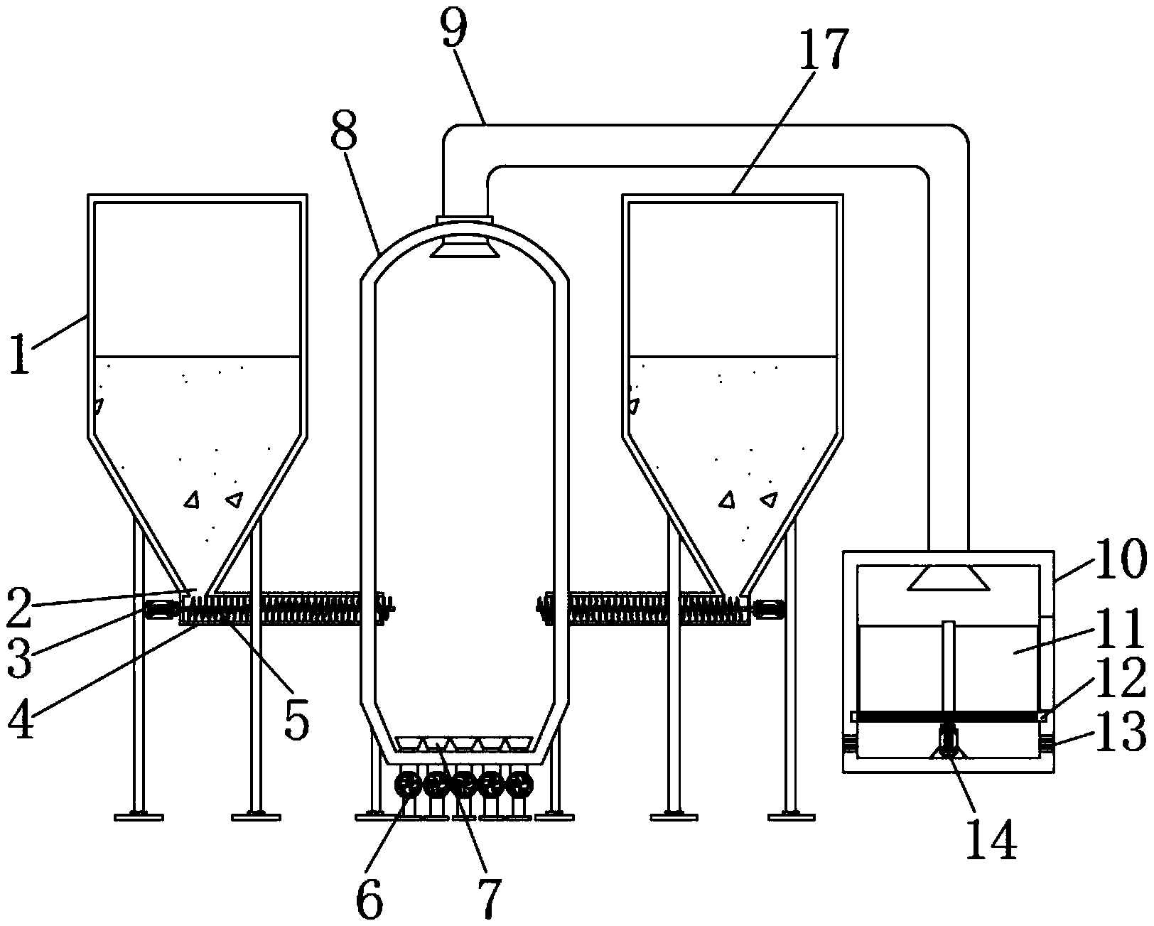
本实用新型公开了一种防渗水泥制备装置,包括第一储料罐和第二储料罐,所述第一储料罐底面开设有出料口。本实用新型中,采用了第一储料罐、第二储料罐和混合塔,第一储料罐内部盛放有水泥,第二储料罐内部存放有水泥抗渗剂,开始混合时,混合塔下方的鼓风机启动,产生强力竖直向上的风,第一电机启动,带动传送桨将第一储料罐和第二储料罐内部的水泥和水泥抗渗剂输送到混合塔内部,由于水泥和水泥抗渗剂质量较轻,进入混合塔后,水泥和水泥抗渗剂被风裹挟至混合塔上方,水泥和水泥抗渗剂在被风裹挟传输的过程中,进行混合,水泥颗粒和水泥抗渗剂颗粒在风中被完全分散,混合更加均匀,采用风力混合,避免传统搅拌装置搅拌效率低,噪音大的问题。


