授权公布号:CN216093964U
一种辊压机轴承座冷却装置
有效
申请
2021-08-20
申请公布
1970-01-01
授权
2022-03-22
预估到期
2031-08-20
| 申请号 | CN202121962476.5 |
| 申请日 | 2021-08-20 |
| 授权公布号 | CN216093964U |
| 授权公告日 | 2022-03-22 |
| 分类号 | B02C4/28;F16C37/00 |
| 分类 | 破碎、磨粉或粉碎;谷物碾磨的预处理; |
| 申请人名称 | 登封市嵩基水泥有限公司 |
| 申请人地址 | 河南省郑州市登封市徐庄镇郑庄村 |
专利法律状态
2022-03-22
授权
状态信息
授权
摘要
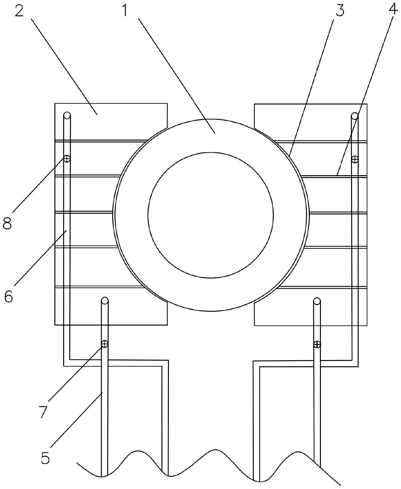
本实用新型公开了一种辊压机轴承座冷却装置。所述冷却装置包括:分别焊接在轴承座左右两侧的冷却水箱,所述冷却水箱与所述轴承座接触的一面设置为弧形凹槽结构,与所述轴承座外表面的形状相匹配;所述冷却水箱内部水平方向上间隔距离焊接有多个支撑板;所述冷却水箱正面靠下部连接有进水管,正面靠上部连接有出水管,所述进水管上设置有进水阀门,所述出水管上设置有出水阀门。所述冷却装置具有和轴承座接触面积较大的所述冷却水箱,冷却效果好。


