授权公布号:CN213528383U
一种具有二次均化功能的水泥生料均化库
有效
申请
2020-06-17
申请公布
1970-01-01
授权
2021-06-25
预估到期
2030-06-17
| 申请号 | CN202021123675.2 |
| 申请日 | 2020-06-17 |
| 授权公布号 | CN213528383U |
| 授权公告日 | 2021-06-25 |
| 分类号 | B01F9/10;B01F13/02;B01F15/00;C04B7/38 |
| 分类 | 一般的物理或化学的方法或装置; |
| 申请人名称 | 四川省星船城水泥股份有限公司 |
| 申请人地址 | 四川省资中县铁佛镇高荣村 |
专利法律状态
2021-06-25
授权
状态信息
授权
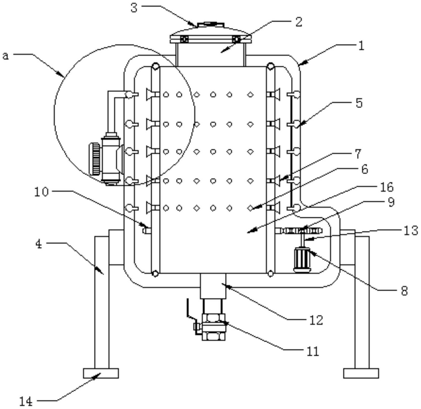
摘要
本实用新型公开了一种具有二次均化功能的水泥生料均化库,属于水泥生料均化库技术领域,包括壳体和支撑腿以及安装在所述壳体顶部的进料口和安装在所述壳体低中部的出料口,所述壳体的内部通过滚珠组件设有内筒,通过进料口加入需要进行均化的物料,然后启动转动组件带动内筒转动,同时启动供气组件进行供气,气体通过进气组件进行至内筒内部,再配合内筒的旋转以及进气组件等间距分布在内筒内壁实现旋转供气均化,提高了均化效率和均化程度。


