授权公布号:CN218059724U
一种套锁式减振扣件
有效
申请
2022-08-05
申请公布
1970-01-01
授权
2022-12-16
预估到期
2032-08-05
| 申请号 | CN202222067523.0 |
| 申请日 | 2022-08-05 |
| 授权公布号 | CN218059724U |
| 授权公告日 | 2022-12-16 |
| 分类号 | E01B9/44;E01B9/62;E01B19/00 |
| 分类 | 道路、铁路或桥梁的建筑; |
| 申请人名称 | 安徽省巢湖铸造厂有限责任公司 |
| 申请人地址 | 安徽省合肥市巢湖市长江西路2号 |
专利法律状态
2022-12-16
授权
状态信息
授权
摘要
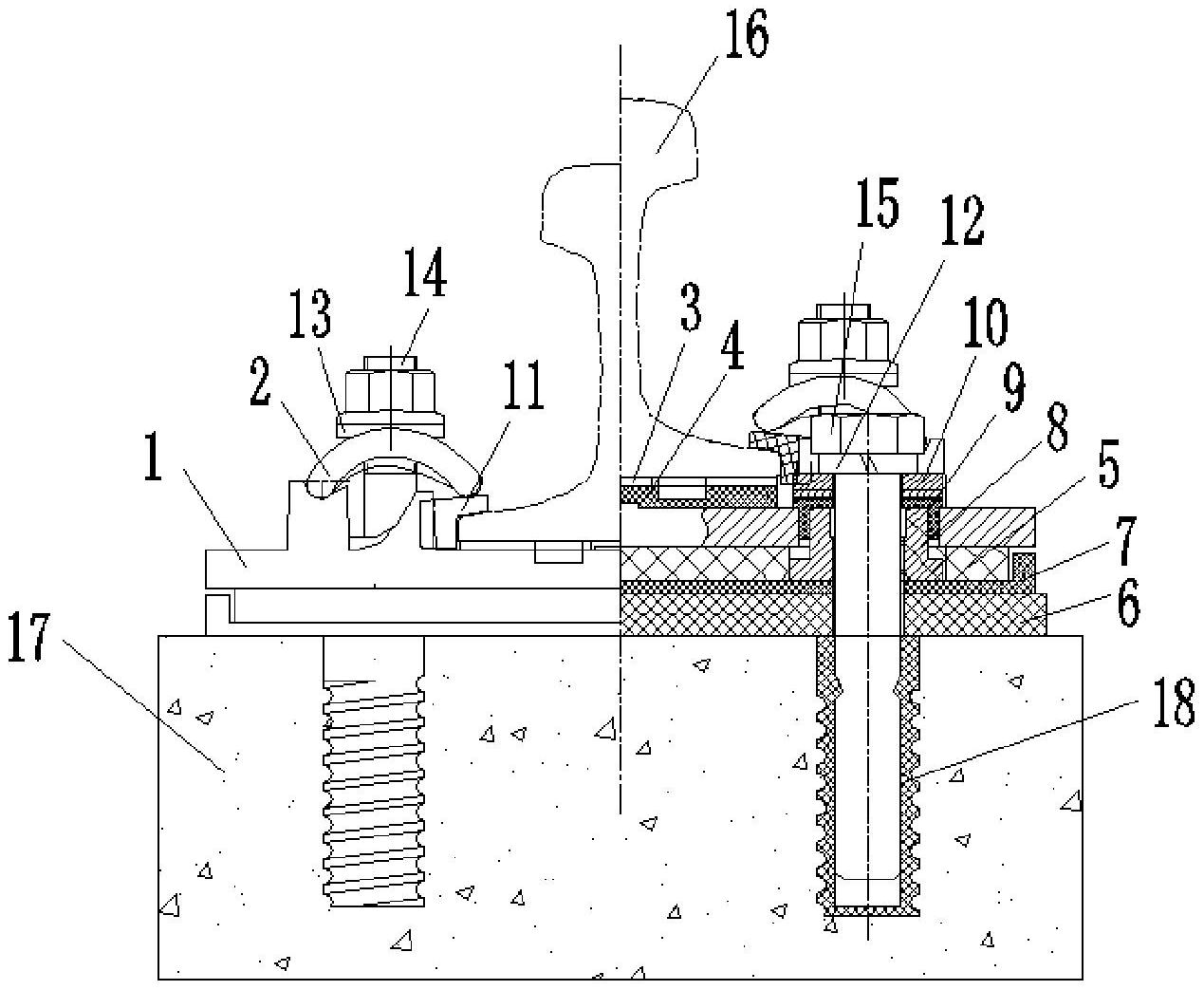
本实用新型提供一种套锁式减振扣件,属于轨道减振技术领域,包括铁垫板、弹条、轨下弹性垫板、板下弹性垫板、绝缘缓冲垫板、连杆、轨距块,绝缘缓冲垫板、板下弹性垫板、铁垫板依次叠置固定在轨道板上,轨距块位于钢轨外侧,弹条压在铁垫板和轨距块上,轨下弹性垫板位于钢轨和铁垫板之间,连杆位于铁垫板和板下弹性垫板之间,连杆两端部各有中空榫头和第二通孔,铁垫板对角有第一通孔,板下弹性垫板上表面有第一通槽,中空榫头嵌入在第一通孔,连杆下端面嵌入在第一通槽;在铁垫板和板下弹性垫板之间嵌入连杆,降低了扣件高度,结构简单、成本低廉,便于施工和安装维护,连杆使得两个锚固螺栓同时受力,提高了扣件的安全性,扣件减振效果好。


