授权公布号:CN218059726U
一种城市轨道交通用扣件
有效
申请
2022-08-05
申请公布
1970-01-01
授权
2022-12-16
预估到期
2032-08-05
| 申请号 | CN202222067362.5 |
| 申请日 | 2022-08-05 |
| 授权公布号 | CN218059726U |
| 授权公告日 | 2022-12-16 |
| 分类号 | E01B9/48;E01B9/68 |
| 分类 | 道路、铁路或桥梁的建筑; |
| 申请人名称 | 安徽省巢湖铸造厂有限责任公司 |
| 申请人地址 | 安徽省合肥市巢湖市长江西路2号 |
专利法律状态
2022-12-16
授权
状态信息
授权
摘要
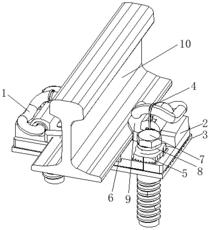
本实用新型提供一种城市轨道交通用扣件,包括弹条、铁垫板、板下弹性垫板、扎带、调距扣板、轨下弹性垫板、轨距块、锚固螺栓,板下弹性垫板位于轨道板上方,铁垫板位于板下弹性垫板上方,轨距块位于钢轨外侧,铁垫板上有支承座,支承座上有第一通孔,弹条中肢末端穿过第一通孔,弹条趾端压在轨距块上,扎带穿在铁垫板上并束紧弹条,调距扣板、铁垫板依序套设在螺栓上,铁垫板与调距扣板的贴合面设置为梯形锯齿,板下和轨下垫板均为非对称结构,垫板上表面为通槽,下表面为凹槽,扎带束紧弹条,降低弹条断裂概率,梯形齿型对中结构,增加轨距保持能力,非对称板下和轨下垫板,垫板上表面为通槽以增强排水能力,垫板下表面为凹槽以保证系统刚度。


