授权公布号:CN218982982U
一种电子元件引脚的折弯裁切装置
有效
申请
2022-12-08
申请公布
1970-01-01
授权
2023-05-09
预估到期
2032-12-08
| 申请号 | CN202223293289.X |
| 申请日 | 2022-12-08 |
| 授权公布号 | CN218982982U |
| 授权公告日 | 2023-05-09 |
| 分类号 | B21F1/00;B21F11/00 |
| 分类 | 基本上无切削的金属机械加工;金属冲压; |
| 申请人名称 | 厦门盈趣科技股份有限公司 |
| 申请人地址 | 福建省厦门市海沧区东孚西路100号 |
专利法律状态
2023-05-09
授权
状态信息
授权
摘要
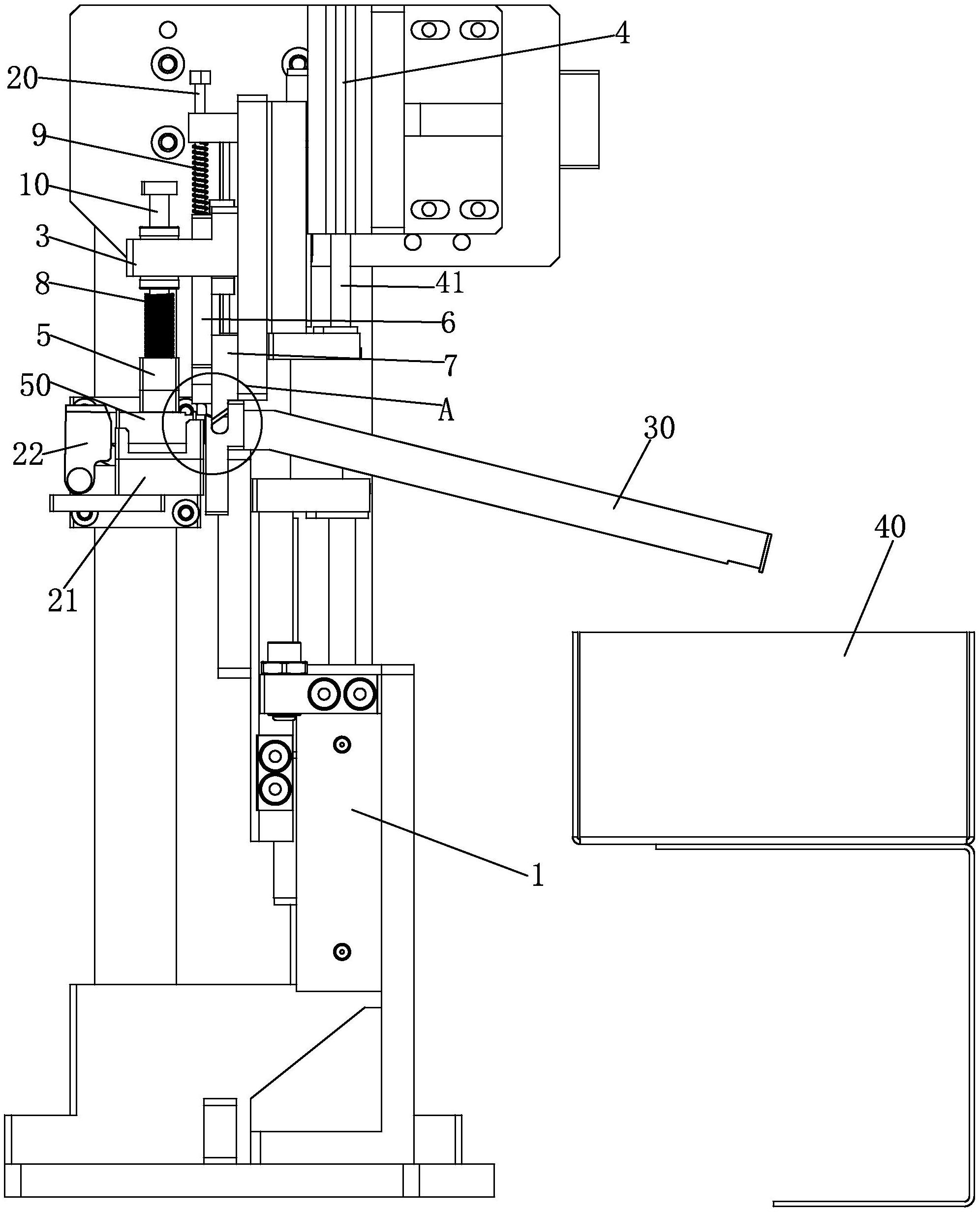
本实用新型公开了一种电子元件引脚的折弯裁切装置,包括机架、设于机架上且用于放置电子元件的底座、可上下滑动地设于机架上且位于底座上方的固定座、设于机架上且用于驱动固定座上下滑动的驱动机构,固定座上设有用于压住底座上的电子元件的压块、用于与底座配合将电子元件的引脚折弯的整形块及用于裁切电子元件的引脚的裁切刀,整形块位于压块和裁切刀之间,压块和整形块均可上下滑动地设于固定座上,压块与固定座之间设有能使压块向下滑动复位的第一弹性件,整形块与固定座之间设有能使整形块向下滑动复位的第二弹性件。本实用新型通过一个驱动机构即可实现电子元件引脚的折弯和裁切,整体结构简单,有助于降低成本,并能够提高工作效率。


