授权公布号:CN108621248B
压力调控裁切机构及裁切设备
有效
申请
2018-07-13
申请公布
2018-10-09
授权
2023-08-04
预估到期
2038-07-13
| 申请号 | CN201810774757.4 |
| 申请日 | 2018-07-13 |
| 申请公布号 | CN108621248A |
| 申请公布日 | 2018-10-09 |
| 授权公布号 | CN108621248B |
| 授权公告日 | 2023-08-04 |
| 分类号 | B26F1/40;B26D5/00 |
| 分类 | 手动切割工具;切割;切断; |
| 申请人名称 | 厦门盈趣科技股份有限公司 |
| 申请人地址 | 福建省厦门市海沧区东孚大道2879号6#写字楼1层104单元之一 |
专利法律状态
2023-08-04
授权
状态信息
授权
2018-11-02
实质审查的生效
状态信息
实质审查的生效;IPC(主分类):B26F1/40;申请日:20180713
2018-10-09
公布
状态信息
公布
摘要
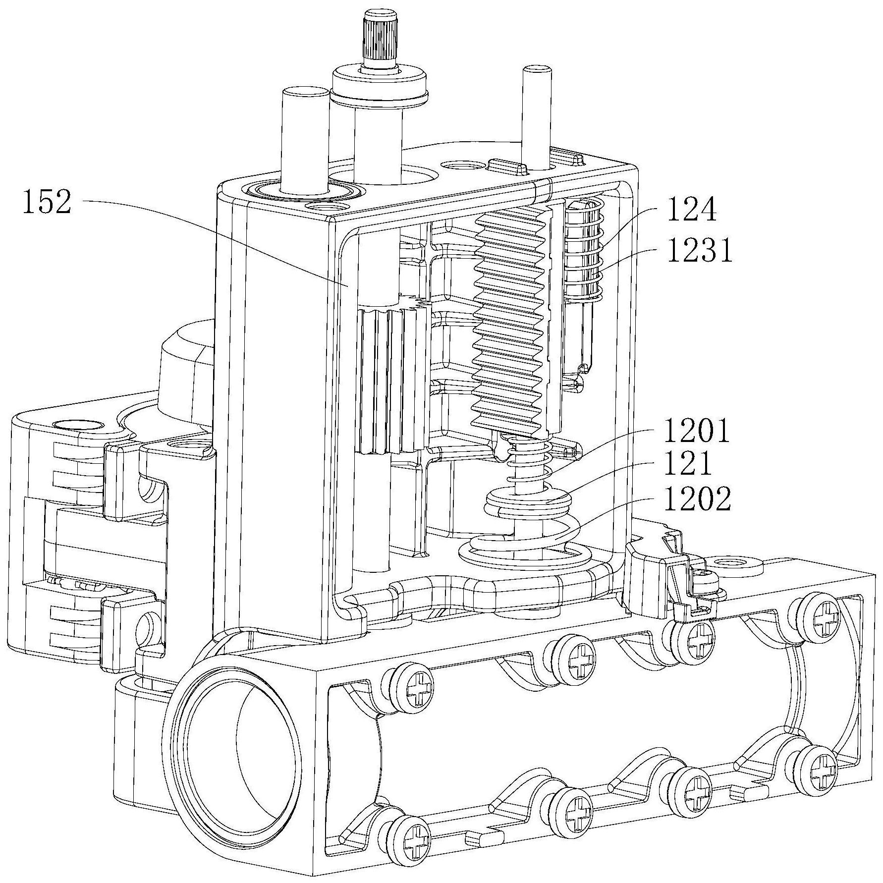
本发明公开了一种压力调控裁切机构及裁切设备,涉及裁切装置领域。压力调控裁切机构包括裁切主体、压力调控组件及裁切移动组件;裁切主体上设置有裁切导向件;裁切移动组件包括移动主体,移动主体滑动连接于裁切导向件,且具有压力调控容置空间;压力调控组件包括调控弹性件、调控驱动件及调控滑动件,调控滑动件滑动连接于裁切导向件,且与调控弹性件连接,并位于压力调控容置空间内,调控驱动件安装于裁切主体,并与调控滑动件传动连接,调控驱动件能够带动调控滑动件沿第一方向移动,且使得调控弹性件抵持于压力调控容置空间的内壁。该压力调控裁切机构的成本低,并能够通过控制裁切力值来进行精准切割。


