授权公布号:CN108582804B
一种全自动热缩成型机
有效
申请
2018-07-11
申请公布
2018-09-28
授权
2023-10-17
预估到期
2038-07-11
| 申请号 | CN201810758076.9 |
| 申请日 | 2018-07-11 |
| 申请公布号 | CN108582804A |
| 申请公布日 | 2018-09-28 |
| 授权公布号 | CN108582804B |
| 授权公告日 | 2023-10-17 |
| 分类号 | B29C65/66;B29C65/78 |
| 分类 | 塑料的加工;一般处于塑性状态物质的加工; |
| 申请人名称 | 厦门盈趣科技股份有限公司 |
| 申请人地址 | 福建省厦门市海沧区东孚大道2879号6#写字楼1层104单元之一 |
专利法律状态
2023-10-17
授权
状态信息
授权
2018-10-26
实质审查的生效
状态信息
实质审查的生效;IPC(主分类):B29C65/66;申请日:20180711
2018-09-28
公布
状态信息
公布
摘要
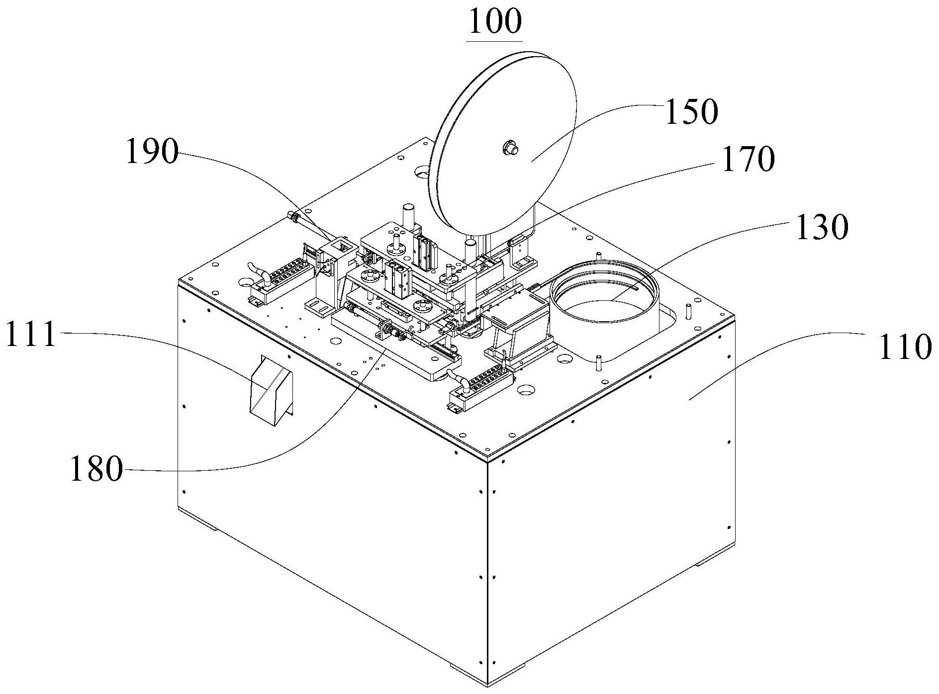
本发明提供了一种全自动热缩成型机,涉及热缩成型技术领域,该全自动热缩成型机包括基台、送料机构、送管机构、产品夹持机构、移栽机构以及热缩机构,基台上开设有容置开口,送料机构设置在容置开口内,产品夹持机构、热缩机构、移栽机构均以及送管机构均设置在基台上;产品夹持机构与送料机构连接;移栽机构设置在产品夹持机构的一端并与产品夹持机构传动连接;热缩机构和产品夹持机构连接;送管机构设置在产品夹持机构的另一端并与热缩机构连接;基台的侧壁上还开设有出料口,出料口与热缩机构相对设置。相较于现有技术,本发明提供的一种全自动热缩机,其效率高、省时省力,安全可靠且能够提高产品的热缩质量。


