授权公布号:CN210256553U
一种数控开料机木料夹持装置
有效
申请
2019-06-12
申请公布
1970-01-01
授权
2020-04-07
预估到期
2029-06-12
| 申请号 | CN201920875449.0 |
| 申请日 | 2019-06-12 |
| 授权公布号 | CN210256553U |
| 授权公告日 | 2020-04-07 |
| 分类号 | B27C5/06;B27B29/00 |
| 分类 | 木材或类似材料的加工或保存;一般钉钉机或钉U形钉机; |
| 申请人名称 | 苏州市苏品宅配文化有限公司 |
| 申请人地址 | 江苏省苏州市相城区渭塘镇爱格豪路168号 |
专利法律状态
2020-04-07
授权
状态信息
授权
摘要
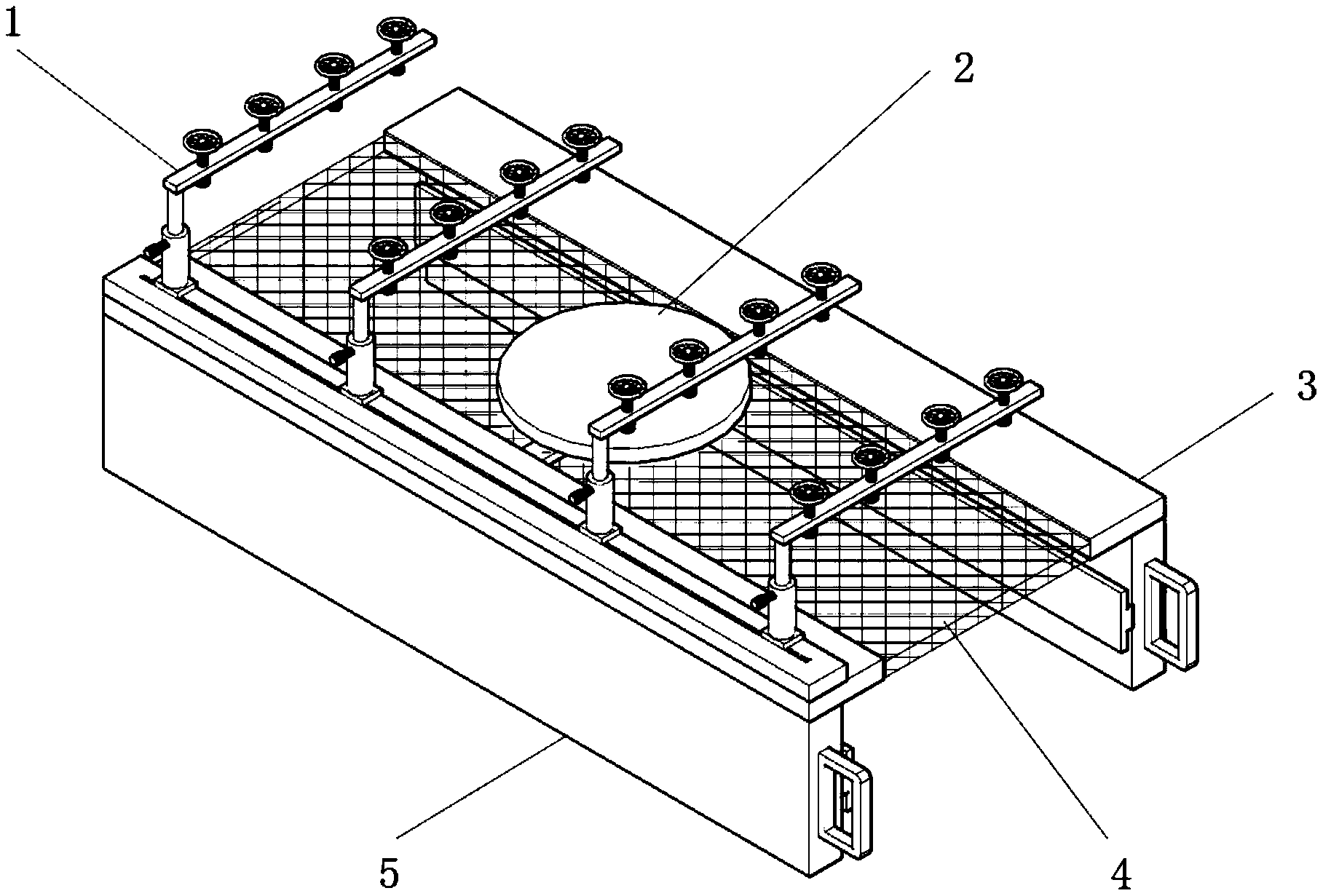
本实用新型公开了一种数控开料机木料夹持装置,包括第一卡接主体和第二卡接主体,所述第一卡接主体和第二卡接主体并排设置,所述第一卡接主体和第二卡接主体的上端之间固定连接有支撑网,且所述支撑网设为双层,所述第一卡接主体和第二卡接主体的中部之间安装有转动调节装置,所述第二卡接主体的上端滑动安装有固定调节机构,且所述固定调节机构设有四个,所述第二卡接主体中安装有支撑板,所述支撑板的内端面中部安装有滑动卡板,所述支撑板的前端面中部安装有推拉把手,所述支撑板的上端固定连接有连接板。本实用新型使用过程中在确保木料进行位移和转动以及固定的过程中不会与设备之间产生摩擦造成木料和设备损坏。


