授权公布号:CN210792623U
一种数控雕刻机用木屑清理设备
有效
申请
2019-06-12
申请公布
1970-01-01
授权
2020-06-19
预估到期
2029-06-12
| 申请号 | CN201920875558.2 |
| 申请日 | 2019-06-12 |
| 授权公布号 | CN210792623U |
| 授权公告日 | 2020-06-19 |
| 分类号 | B44B1/06 |
| 分类 | 装饰艺术; |
| 申请人名称 | 苏州市苏品宅配文化有限公司 |
| 申请人地址 | 江苏省苏州市相城区渭塘镇爱格豪路168号 |
专利法律状态
2020-06-19
授权
状态信息
授权
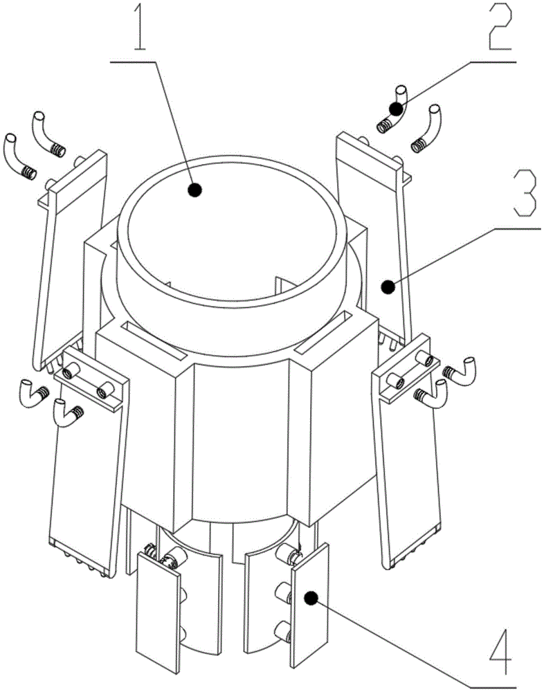
摘要
本实用新型公开了一种数控雕刻机用木屑清理设备,包括防护壳、通气管、喷气机构和卡接机构,所述防护壳用于支撑和连接,且所述防护壳包括防护壳体、连接环、固定连接板和卡接槽,所述防护壳体的外端面均匀等距固定连接有四组用于卡接的固定连接板,且位于所述防护壳体的内端面均匀等距开设有四组用于连接的卡接槽。本实用新型通过设置喷气机构,在进行清理时,螺纹套筒能接受来自通气管提供的高压气体,随后将高压气体通过中空的喷气壳体传递至底部中空板,中空板能将高压气体输送至高压喷气头内部,从而实现对木屑的高速清洁,若是需要调节清洁角度,使用者可通过转动高压喷气头完成操作,提高了便捷性。


