授权公布号:CN217195851U
一种便于清理木屑的数控多排钻
有效
申请
2022-03-04
申请公布
1970-01-01
授权
2022-08-16
预估到期
2032-03-04
| 申请号 | CN202220458514.1 |
| 申请日 | 2022-03-04 |
| 授权公布号 | CN217195851U |
| 授权公告日 | 2022-08-16 |
| 分类号 | B27C3/04;B27G3/00 |
| 分类 | 木材或类似材料的加工或保存;一般钉钉机或钉U形钉机; |
| 申请人名称 | 广西志光家具集团有限责任公司 |
| 申请人地址 | 广西壮族自治区柳州市鱼峰区新柳大道23号 |
专利法律状态
2022-08-16
授权
状态信息
授权
摘要
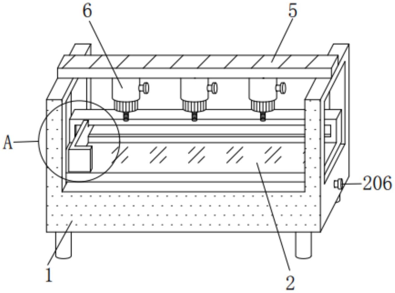
本实用新型公开了一种便于清理木屑的数控多排钻,包括壳体,所述壳体的内壁设有提升机构,所述提升机构包括横板、斜杆、滑板、双头螺柱、滚轮和旋钮,所述横板的外侧与壳体的内壁滑动卡接,所述横板的正端面与斜杆的顶部转动相连,所述斜杆的一端与滑板的正端面转动相连,所述滑板的内壁与双头螺柱的外壁螺纹相接,所述双头螺柱的外侧与壳体的内壁转动相连,所述滑板的后端面与滚轮的正端面转动相连。该便于清理木屑的数控多排钻,通过手动转动提升机构中的旋钮,旋钮带动双头螺柱转动,双头螺柱带动滑板移动,滑板带动斜杆移动,斜杆带动横板移动,横板移动后能够对较厚的板材进行加工适用范围广泛。


