授权公布号:CN217815182U
一种高压自动排气阀
有效
申请
2022-05-17
申请公布
1970-01-01
授权
2022-11-15
预估到期
2032-05-17
| 申请号 | CN202221184505.4 |
| 申请日 | 2022-05-17 |
| 授权公布号 | CN217815182U |
| 授权公告日 | 2022-11-15 |
| 分类号 | F16K17/02 |
| 分类 | 工程元件或部件;为产生和保持机器或设备的有效运行的一般措施;一般绝热; |
| 申请人名称 | 广州市禹成消防科技有限公司 |
| 申请人地址 | 广东省广州市番禺区南村镇里仁洞冼庄平安二路1号5号厂房北二楼 |
专利法律状态
2022-11-15
授权
状态信息
授权
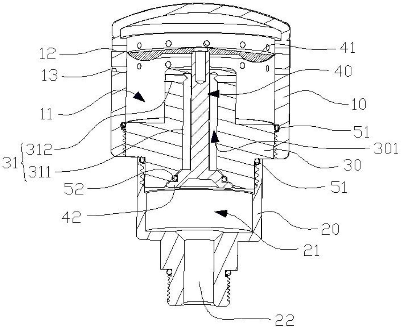
摘要
本实用新型公开了一种高压自动排气阀,包括排气顶壳、进气底壳、阀芯座及升降阀芯,排气顶壳在其内形成有排气腔以及在其外缘面分别开设有连通排气腔上端的若干恒压气孔及连通排气腔下端的若干排气孔,进气底壳在其内形成有进气腔以及在其底部形成进气腔的进气口,阀芯座上开设有贯通排气腔与进气腔的通气道,通气道形成有供升降阀芯穿设的主气道以及若干个将主气道与排气腔下端连通的出气口,升降阀芯的顶端穿入至排气腔内,并在其上设有将排气腔上端与下端分隔的分隔片,升降阀芯穿设在主气道内的中段与主气道之间预留有通气间隙,升降阀芯的底端设有用以封堵主气道底端的封堵头。本实用新型能够高效地排出输送管道内的气体。


