授权公布号:CN217794246U
一种具有新型探测结构的自动跟踪灭火装置
有效
申请
2022-06-27
申请公布
1970-01-01
授权
2022-11-15
预估到期
2032-06-27
| 申请号 | CN202221627702.9 |
| 申请日 | 2022-06-27 |
| 授权公布号 | CN217794246U |
| 授权公告日 | 2022-11-15 |
| 分类号 | A62C31/03;A62C31/28;A62C37/00 |
| 分类 | 救生;消防; |
| 申请人名称 | 广州市禹成消防科技有限公司 |
| 申请人地址 | 广东省广州市番禺区南村镇里仁洞冼庄平安二路1号5号厂房北二楼 |
专利法律状态
2022-11-15
授权
状态信息
授权
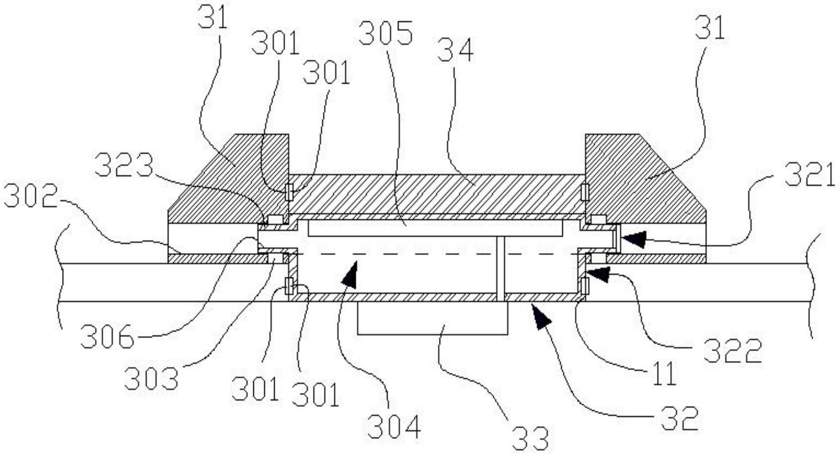
摘要
本实用新型公开了一种具有新型探测结构的自动跟踪灭火装置,包括壳体以及新型探测结构,所述壳体在其底部的底壁上开设有安装口,所述新型探测结构安装在位于壳体内的底壁顶面上,与安装口位置对应,其包括两件装配件、翻转基座、探测头及封盖,两件装配件相对设置在安装口的两侧;所述翻转基座的两端分别为穿设端及翻转端,所述穿设端的两侧各设有一对应穿设到一装配件内的转轴,使所述翻转基座可翻转地安装在两件装配件之间,能够带动翻转端向下翻转到安装口内,或向上翻转到两件装配件之间;所述探测头安装在翻转端的端面上,所述封盖安装在穿设端的端面上。本实用新型所述的自动跟踪灭火装置能防止在搬运过程中,造成探测头的损坏。


