授权公布号:CN210763803U
一种电梯无对重主机底座固定装置
有效
申请
2019-09-10
申请公布
1970-01-01
授权
2020-06-16
预估到期
2029-09-10
| 申请号 | CN201921497766.X |
| 申请日 | 2019-09-10 |
| 授权公布号 | CN210763803U |
| 授权公告日 | 2020-06-16 |
| 分类号 | B66B11/00 |
| 分类 | 卷扬;提升;牵引; |
| 申请人名称 | 艾维仕电梯(无锡)有限公司 |
| 申请人地址 | 江苏省无锡市新吴区南丰工业园区锡达路572号 |
专利法律状态
2020-06-16
授权
状态信息
授权
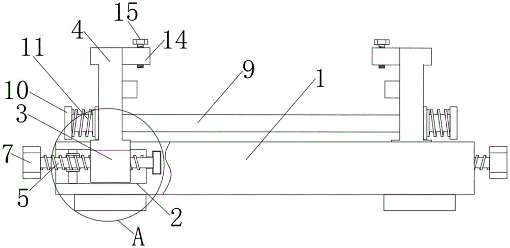
摘要
本实用新型属于固定技术领域,尤其为一种电梯无对重主机底座固定装置。本实用新型通过将电梯主机放置在固定座顶端,然后利用设备转动转动头,转动头带动螺杆进行转动,然后螺杆带动滑动块进行移动,然后利用滑动块的移动带动支撑架进行移动,从而将电梯主机进行夹持固定,利用第一固定螺钉将支撑架牢固的固定在固定座上,然后利用第二固定螺钉对电梯主机进一步固定,保证对电梯固定的强度,同时利用弹簧在滑动杆侧壁对支撑架进行支撑,提高了该固定装置的使用性能,避免因电梯主机的固定部件老化会产生松动的现象,使得固定底座固定的更加牢固,提高了电梯底座固定装置的使用寿命,保证电梯正常的使用,使得居民使得电梯的便利。


