授权公布号:CN212824199U
一种用于铝单板加工的缓冲装置
有效
申请
2020-08-07
申请公布
1970-01-01
授权
2021-03-30
预估到期
2030-08-07
| 申请号 | CN202021626303.1 |
| 申请日 | 2020-08-07 |
| 授权公布号 | CN212824199U |
| 授权公告日 | 2021-03-30 |
| 分类号 | B23Q11/00 |
| 分类 | 机床;不包含在其他类目中的金属加工; |
| 申请人名称 | 重庆航墙铝业股份有限公司 |
| 申请人地址 | 重庆市綦江区古南街道工业园区A区 |
专利法律状态
2021-03-30
授权
状态信息
授权
摘要
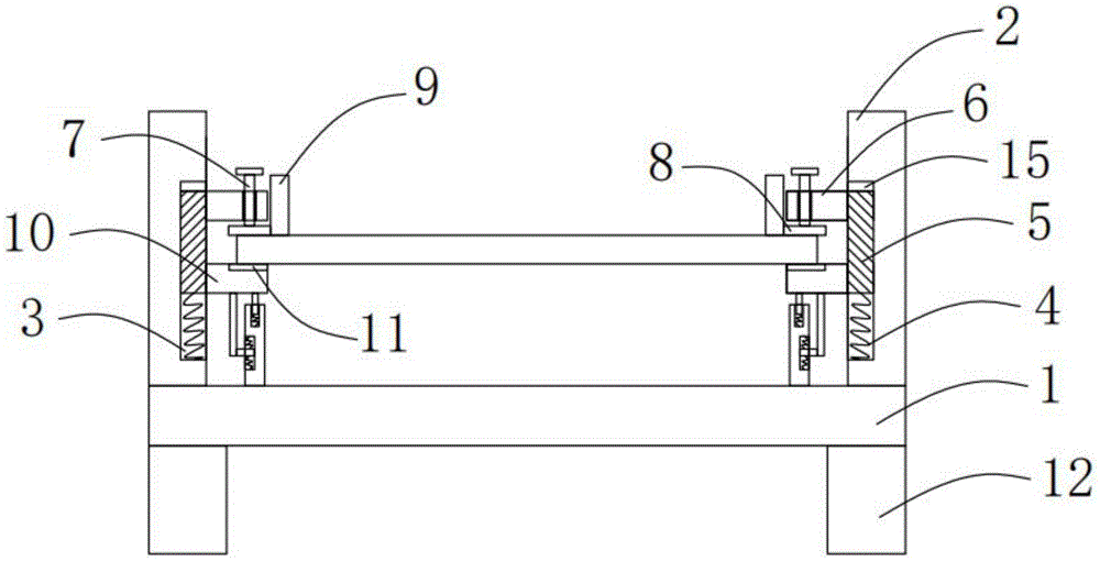
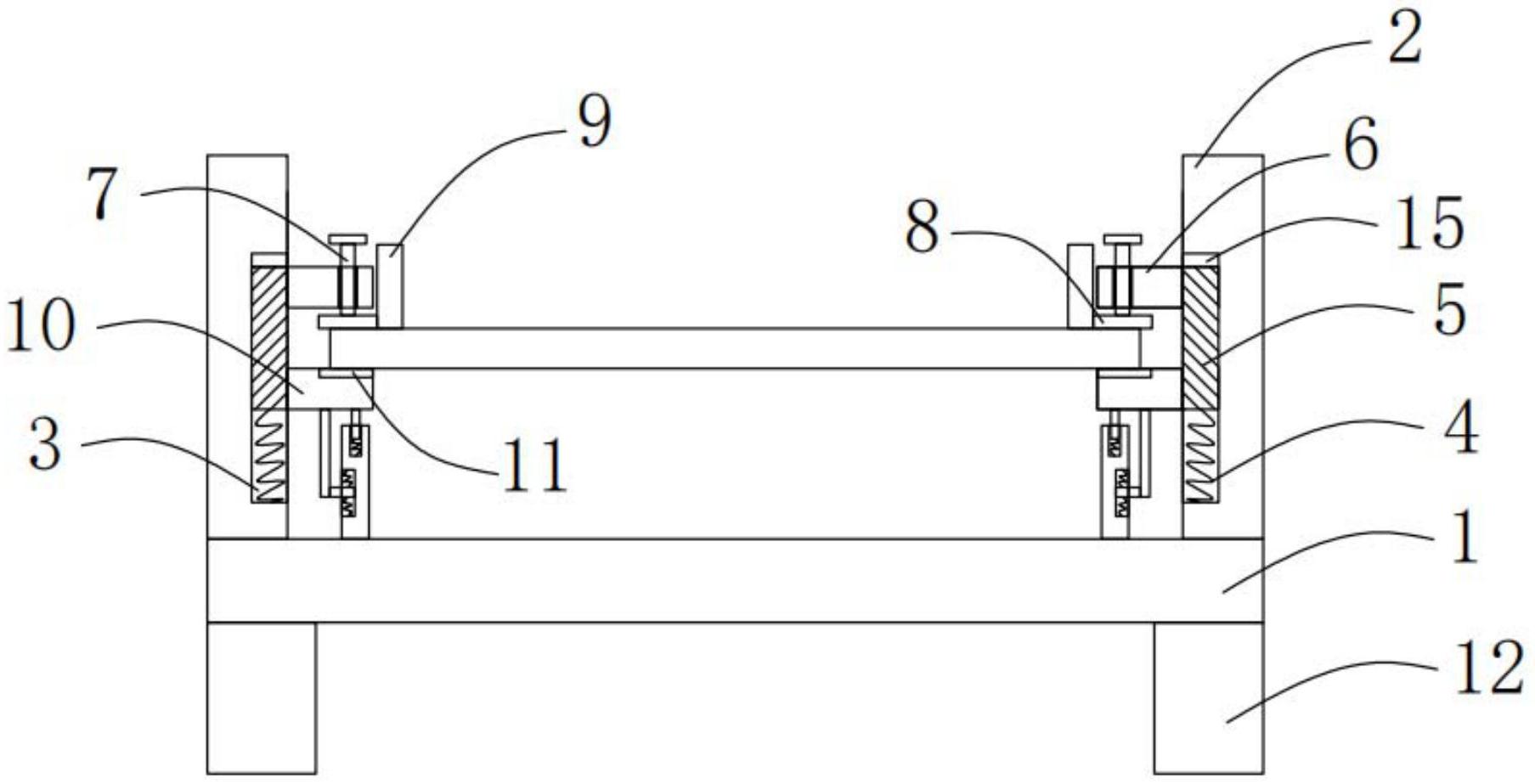
本实用新型公开了一种用于铝单板加工的缓冲装置,所述底座的上端两侧分别连接有支架,所述支架的一侧设有第一滑槽,所述第一滑槽中安装有第一弹簧,所述第一弹簧的上端位于第一滑槽中安装有第一滑块,所述第一滑槽的顶部设有第一橡胶垫;本实用新型转动螺杆使得固定板将上夹板、下夹板之间的铝单板两端夹紧固定,方便从铝单板的上方进行打孔加工,在进行打孔加工时,震动力下压铝单板,铝单板两侧的下夹板在第一弹簧的作用下上下缓冲减震,下端的插柱在插槽中上下浮动,第二弹簧上下压缩,导向杆在第二滑槽中上下滑动第三弹簧上下压缩拉伸,使得铝单板在进行打孔时,钻头带来的震动被缓冲、吸收对于铝单板实现减震的作用。


