授权公布号:CN213025015U
光学系统教学展台
有效
申请
2020-09-23
申请公布
1970-01-01
授权
2021-04-20
预估到期
2030-09-23
| 申请号 | CN202022101953.0 |
| 申请日 | 2020-09-23 |
| 授权公布号 | CN213025015U |
| 授权公告日 | 2021-04-20 |
| 分类号 | G09B23/22;G02B7/02;G02B7/00 |
| 分类 | 教育;密码术;显示;广告;印鉴; |
| 申请人名称 | 辽宁文彬教学设备有限公司 |
| 申请人地址 | 辽宁省辽阳市太子河区振兴路242号 |
专利法律状态
2021-04-20
授权
状态信息
授权
摘要
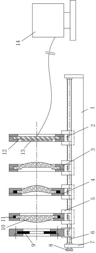
本实用新型涉及一种光学系统教学展台,包括支撑平台、各个透镜、光阑和带有成像传感器的线路板,线路板的信号输出端与计算机相连,其技术要点是:各个透镜、光阑和线路板的外周分别设有承载框和与承载框配合的侧盖,承载框下沿固定有丝套和左、右支撑轮组,所述丝套在水平方向上位于左、右支撑轮组之间,且各个承载框上的丝套在水平方向上交错布置,支撑平台由相互平行的左、右支撑轨、连接于左、右支撑轨前、后端的前、后支撑块组成,左、右支撑轨上表面设有与左、右支撑轮组对应的通长凹槽,前、后支撑块之间设有与各个丝套一一对应的丝杠,丝杠远离线路板的一端固定有旋钮。本实用新型解决了现有教学展示设备存在的操作复杂的问题,省时省力。


