授权公布号:CN215467617U
一种扁管托舌清渣装置
有效
申请
2021-05-28
申请公布
1970-01-01
授权
2022-01-11
预估到期
2031-05-28
| 申请号 | CN202121181170.6 |
| 申请日 | 2021-05-28 |
| 授权公布号 | CN215467617U |
| 授权公告日 | 2022-01-11 |
| 分类号 | B21D43/00;B08B5/02;B08B9/032 |
| 分类 | 基本上无切削的金属机械加工;金属冲压; |
| 申请人名称 | 成都安居天下实业有限责任公司 |
| 申请人地址 | 四川省成都市崇州市智能应用产业功能区晨曦大道北段701号 |
专利法律状态
2022-01-11
授权
状态信息
授权
摘要
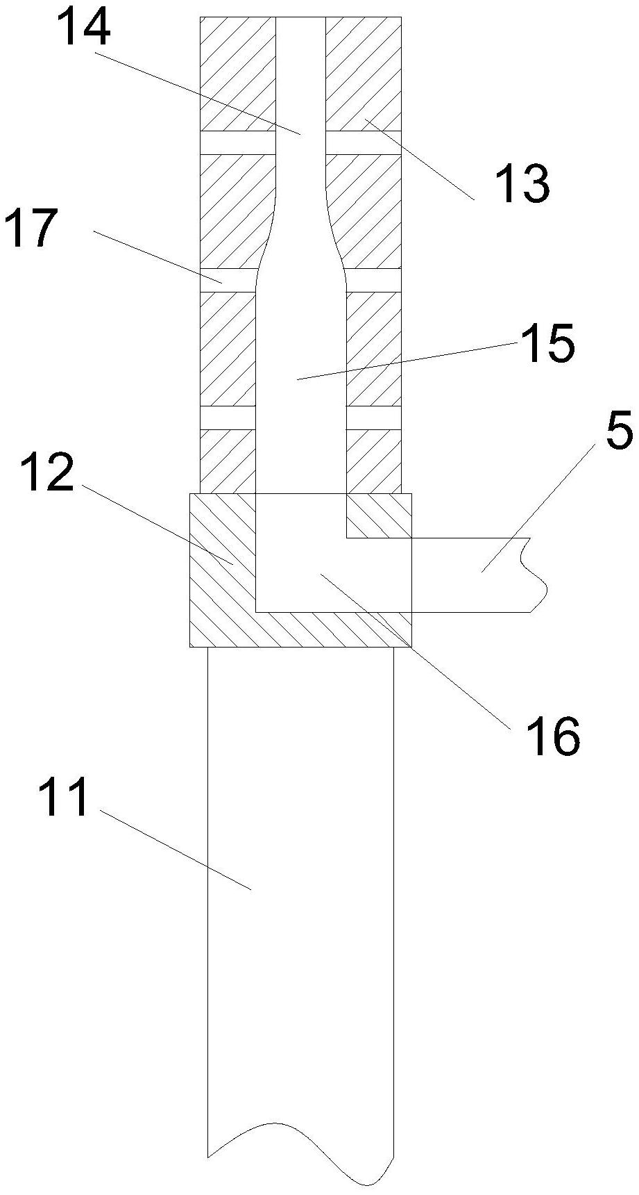
本实用新型公开了一种扁管托舌清渣装置,弯管机包括固定组件、弯管组件和支撑组件,所述扁管套装在所述支撑组件上,且所述扁管位于所述固定组件和所述弯管组件之间,所述支撑组件包括:扁管托舌、定位连接件、连接杆和清渣气泵组件,所述扁管套装在所述扁管托舌上,所述连接杆通过所述定位连接件与所述扁管托舌固定连接,所述扁管托舌内部设置有气孔组,所述清渣气泵组件的供气端与所述气孔组件连通。本实用新型通过在扁管托舌内部设置气孔组,并通过清渣气泵组件向气孔组内泵入高压气体,在高压气体的冲击下,将扁管弯折的过程中产生的金属废屑从弯管内部或弯管托舌外侧面清除。


